юан8
1 ранг
- Регистрация
- 9 Мар 2024
- Сообщения
- 3,880
- Реакции
- 774
- Баллы
- 58
- Страна
- РФ
- Город
- Санкт-Петербург
- Имя
- Юрий
- Предупреждений
- 5
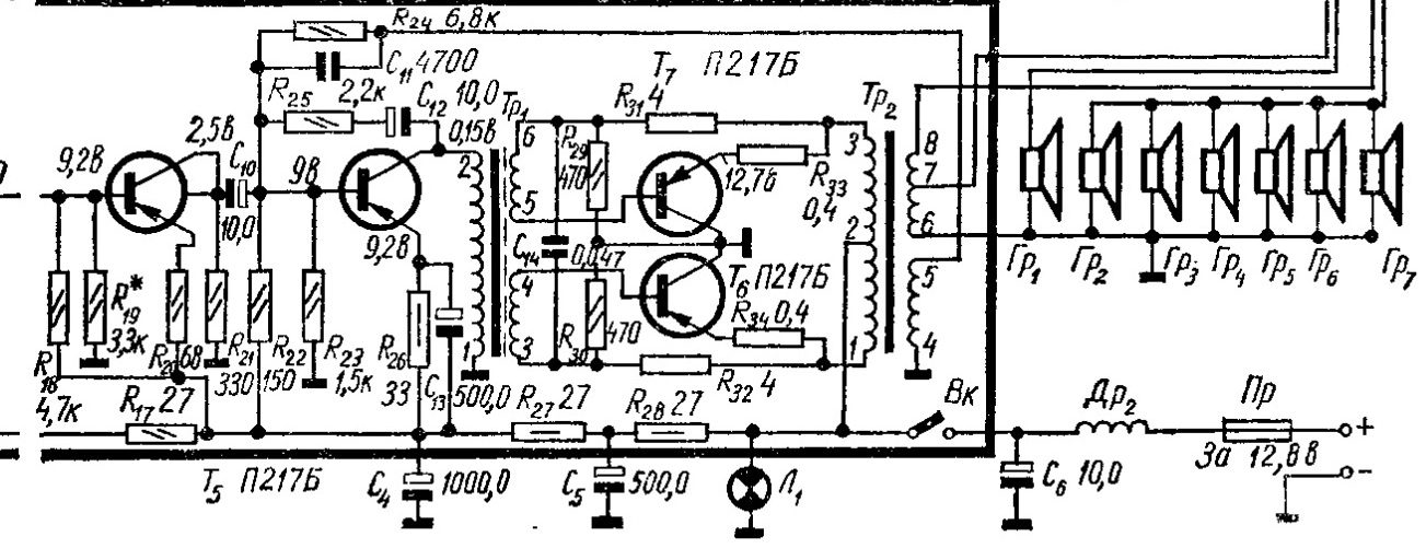
В него предвыход мощнее сделать на 139/140 и в А класс предвыход загнать,а транс на пермаллое 50н сделать проводом Пэлшо,конфетка будет
Последнее редактирование:

