Александр Бокарёв
1 ранг
- Регистрация
- 12 Ноя 2019
- Сообщения
- 30,262
- Реакции
- 15,351
- Баллы
- 395
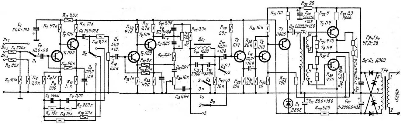
На линейность беты от тока не проверял 806-е, в реале хватает с запасом усиления, а всех краще наши 910-е. У них начальная бета и так высока, а с ростом тока не падает а растет.Сквозной ток из-за того, что транзисторы по постоянному току последовательно включены. Проблема решается, если включать параллельно, с переходным и выходным трансформаторами, по классической ламповой схемотехнике. В качестве выходного можно попробовать какие-нибудь ТА-169 на сердечнике ПЛ. Как у ГТ806 с линейностью h21э? У ГТ703 она хотя бы нормирована.
Схемы с раскачкой выходных германиевых транзисторов через трансформатор решают множество проблем, до них еще доберусь. Не сейчас.



