Постройка басовой секции

  • Автор темы Автор темы Пётр
  • Дата начала Дата начала
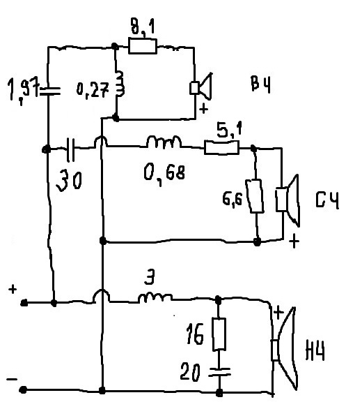
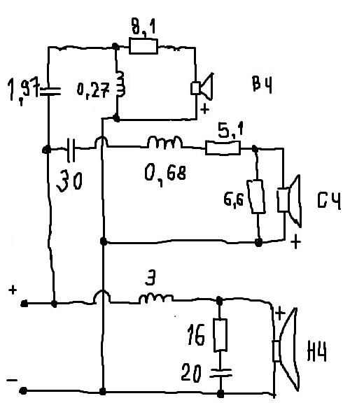
Вместо 16 Ом+20 мкФ
Это вытаскивать динамик басовика... целое дело... Но Ваши советы привели к хорошему результату. Наверное - стоит прислушаться и заморочиться. А как мы оценим результат - по микрофону получится оценить влияние? Или только субъективно на слух.
И вообще - Ваше мнение, что мощность усилителя и его тактность (PP либо SE), а также Rвых - не влияют на бас? Всё может решить 10 Ом+30 мкФ?
Мы вообще будем замерять АЧХ басовика у пылезащитного колпачка на свип-тоне?
Я по опытам определил, что доп. сопротивление последовательно с басовиком - влияет на его АЧХ внизу (добротность системы динамик-ящик меняется, как я понял). И АЧХ в этом случае выравнивается. Таким образом - как бы опуская вниз по частоте выход на басовую полку.
Но вот проблема в том, что я осмысленно не могу понять и выявить влияние этих параметров на восприятие баса моим мозгом...
Ведь у меня уже было мнение - что при переходе на PP с повышенным Rвых - я получил приближение к желаемому басу. Вопрос почему. Не получится ли так, что с этим SE, с которым удалось добыть классную середину - того баса достать не удастся, как ни крути 10 Ом+30 мкФ? Просто если бы знать это заранее и понять - хочешь нужного баса - переходи на биамп... то уже и не надо как бы напрягаться с SE для баса.
А вот если живО всплывавшее здесь ранее утверждение типа: "да у меня и SE отлично бас играет" и типа - добиться такого, чтобы один SE смог так же бас отыграть, как биамп с заточенным под бас выходным сопротивлением басового УНЧ... то - оно того стоит. Возня с SE на басу. Иначе - это просто напрасная трата времени.
 
Это вытаскивать динамик басовика... целое дело... Но Ваши советы привели к хорошему результату. Наверное - стоит прислушаться и заморочиться.
Сделаете это, когда будете переходить (пробовать) на биампинг.
А как мы оценим результат - по микрофону получится оценить влияние? Или только субъективно на слух.
Идеально было бы - три провода в точку прослушивания и тумблер. Минуту послушали-щелкнули-послушали-щелкнули. А провода сделать одинакового цвета и свить, для слепоты теста. Если разницы не услышите, то не стОит и дрыгаться.
И вообще - Ваше мнение, что мощность усилителя и его тактность (PP либо SE), а также Rвых - не влияют на бас?
Именно на басу, где у уха слабое разрешение по уровню и по частоте, подача больше всего зависит от Rвых.
Всё может решить 10 Ом+30 мкФ?
Нет. это припудривание.
Мы вообще будем замерять АЧХ басовика у пылезащитного колпачка на свип-тоне?
С Вашим размещением в углу и расстоянием 3 метра - малоинформативно.
Я по опытам определил, что доп. сопротивление последовательно с басовиком - влияет на его АЧХ внизу (добротность системы динамик-ящик меняется, как я понял). И АЧХ в этом случае выравнивается. Таким образом - как бы опуская вниз по частоте выход на басовую полку.
Но вот проблема в том, что я осмысленно не могу понять и выявить влияние этих параметров на восприятие баса моим мозгом...
А кто - может? Кто может осмыслить, как в собственной голове из мозаики сигналов от колбочек формируются неповторимые зрительные картины?
Ведь у меня уже было мнение - что при переходе на PP с повышенным Rвых - я получил приближение к желаемому басу. Вопрос почему. Не получится ли так, что с этим SE, с которым удалось добыть классную середину - того баса достать не удастся, как ни крути 10 Ом+30 мкФ? Просто если бы знать это заранее и понять - хочешь нужного баса - переходи на биамп... то уже и не надо как бы напрягаться с SE для баса.
А вот если живО всплывавшее здесь ранее утверждение типа: "да у меня и SE отлично бас играет" и типа - добиться такого, чтобы один SE смог так же бас отыграть, как биамп с заточенным под бас выходным сопротивлением басового УНЧ... то - оно того стоит. Возня с SE на басу. Иначе - это просто напрасная трата времени.
Сейчас мы получили нечто, напоминающее самую первую настройку, проведённую с А. Б, с коррекцией на изменение параметров ВЧ. Послушайте немного. Дальше проблемы малабаса можно решать разными способами, не только повышением выходного сопротивления УМ. Например, межкаскадной RC коррекцией - дёшево и сердито. Судя по АЧХ с трех метров, у Вас комната проваливает самые интересные 45 Гц. Напомните частоту резонанса Бэймочки
 
Последнее редактирование:
Напомните частоту резонанса Бэймочки
1.png

График относительного импеданса. Красным цветом - в пустом ящике. Малиновым - с синтепоном. У меня сейчас - с синтепоном.
Если Вы про эту резонансную.
 
Посмотреть вложение 81439
График относительного импеданса. Красным цветом - в пустом ящике. Малиновым - с синтепоном. У меня сейчас - с синтепоном.
Если Вы про эту резонансную.
Про эту. Она почти совпадает с частотой провала от комнаты. Значит, выгодно увеличивать Rвых в первую очередь.
О приколах. Эффект от внесённой гибкости синтепоном превысил эффект от внесённых потерь, пик импеданса не присел, а чуть поднялся?? А что за грыжа на 57 Гц? У Вас же вроде как ЗЯ.
 
Я в своих предыдущих исканиях, на этот счёт использовал выходной трансформатор с возможностью подключения разного Ктр. Зависимость была такая: с увеличением Rвых усилителя - бас становился лучше. Но при этом - середина начинала иметь недопустимые искажения (неприемлемая нагрузка для выходных ламп). Так как УНЧ в то время всё же планировался не чисто для баса, а на все полосы - приходилось искать оптимум - когда середина ещё более-менее нормальная но при этом малый Ктр. В итоге - конечный УНЧ с заточкой для баса (PP) имеет у меня Rвых=4,1 Ом.
Можно ли это значение считать "достаточным увеличением Rвых". Или же - надо больше. И каким способом. В этом вопрос.
 
Я в своих предыдущих исканиях, на этот счёт использовал выходной трансформатор с возможностью подключения разного Ктр.
Да, было. Отличный эксперимент.
Зависимость была такая: с увеличением Rвых усилителя - бас становился лучше. Но при этом - середина начинала иметь недопустимые искажения (неприемлемая нагрузка для выходных ламп).
В этот момент, при эксперименте, был тот неправильно собранный фильтр? У него была просадка на СЧ до 2,6 Ом. Сейчас примерно 8 Ом на СЧ и, наверное, небольшая просадка на частоте резонанса контура ФВЧ.
Так как УНЧ в то время всё же планировался не чисто для баса, а на все полосы - приходилось искать оптимум - когда середина ещё более-менее нормальная но при этом малый Ктр. В итоге - конечный УНЧ с заточкой для баса (PP) имеет у меня Rвых=4,1 Ом.
Компромисс, что поделать.
Можно ли это значение считать "достаточным увеличением Rвых". Или же - надо больше. И каким способом. В этом вопрос.
Биампинг! Оптимизировать выходные сопротивления для полос. НЧ - напрямую (так стабильнее нагрузка для УМ, экономятся детали, уходит эффект накачки), бас - регулировкой выходного, АЧХ - фильтр на RC. СЧ/ВЧ отдать SE.
 
Эффект от внесённой гибкости синтепоном превысил эффект от внесённых потерь, пик импеданса не присел, а чуть поднялся?? А что за грыжа на 57 Гц? У Вас же вроде как ЗЯ.
Прокомментировать не могу. Но замеры делал сам - поэтому им верю. ЗЯ - треугольный в горизонтальном сечении. Может это повлияло. Вижу, что немножко график напоминает ФИ. Но ящик - герметичный закрытый.
 
В этот момент, при эксперименте, был тот неправильно собранный фильтр?
Да, всё это время - я применял неправильный делитель в СЧ фильтре. Как удалось наконец выяснить, с вашей помощью...
Биампинг! Оптимизировать выходные сопротивления для полос. НЧ - напрямую (так стабильнее нагрузка для УМ, экономятся детали, уходит эффект накачки), бас - регулировкой выходного, АЧХ - фильтр на RC. СЧ/ВЧ отдать SE.
Поставлю плюсик в копилку биампа. Что поделать. Я так понимаю, с одного УНЧ - не удастся получить небольшое Rвых для СЧ/ВЧ и большое Rвых для баса. То есть - вариант одного SE для всего - в этом случае как бы не подходит.
Кстати, подумалось - если так уж сильно влияние именно Rвых - то объясняется, почему мне не понравился биампинг с УНЧ на интегральной микросхеме, с её Rвых близким к нулю.
Как распределён синтепон?
1.jpg

Он колбасой висит внутри. Вверху на саморез подвешен - а нижняя часть почти до дна достаёт.

А когда был полностью набит синтепоном
1_1.jpg

эффект был таким (красным):
1.png
 
Последнее редактирование:
А может вместо синтепония (новый химич-кий элемент) Петру применить ватин хлопковый (так советовал ранее Инженер акустик КБ Орбита, примечание "КБ" -- Это Красное и белое, что ли?)?​
 
График относительного импеданса. Красным цветом - в пустом ящике. Малиновым - с синтепоном. У меня сейчас - с синтепоном.
В каком смысле - относительного импеданса?
если так уж сильно влияние именно Rвых - то объясняется, почему мне не понравился биампинг с УНЧ на интегральной микросхеме, с её Rвых близким к нулю.
Что же Вы не уровняли её шансы, добавив 4 Ома последовательно, так нечестно!
 
В каком смысле - относительного импеданса?

Что же Вы не уровняли её шансы, добавив 4 Ома последовательно, так нечестно!
Значения по шкале Y не соответствуют Омам.

4 Ом резистор пробовал последовательно (по памяти). Всё равно - чем то не устроил итог.
 
Да, всё это время - я применял неправильный делитель в СЧ фильтре. Как удалось наконец выяснить, с вашей помощью...

Поставлю плюсик в копилку биампа. Что поделать. Я так понимаю, с одного УНЧ - не удастся получить небольшое Rвых для СЧ/ВЧ и большое Rвых для баса. То есть - вариант одного SE для всего - в этом случае как бы не подходит.
Кстати, подумалось - если так уж сильно влияние именно Rвых - то объясняется, почему мне не понравился биампинг с УНЧ на интегральной микросхеме, с её Rвых близким к нулю.

Посмотреть вложение 81443
Он колбасой висит внутри. Вверху на саморез подвешен - а нижняя часть почти до дна достаёт.

А когда был полностью набит синтепоном
Посмотреть вложение 81444
эффект был таким (красным):
Посмотреть вложение 81445
Количество синтепона в колбасе и в распушенном виде было одинаковое, или в распушке было больше?
 
По весу ориентировочно?
Я распушал и заполнял весь объем, не трамбуя. А там - ок. 100 литров. Если память не изменяет - поместилось примерно 1,5 кг по весу. А тот что в колбасе - там грамм 300 по весу, примерно. Всё это по памяти навскидку. Точно вес не замерял
 
Петру нужен усилок с низким сопротивлением сверху и высоким снизу. Такие вроде делались раньше
 
Собрал такой же пассивный фильтр для второй АС (правой). Сделал аналогичные замеры:
Посмотреть вложение 81494
Посмотреть вложение 81495
Посмотреть вложение 81496
Сч полоса не похожа... Проверьте номиналы делителя, далеко вверх забралась, типа, 6,6 Ом не на месте. Так даже лучше... Интересно: разные СЧ или фильтры?
У Вас сильнейший фон 50 и 100 Гц, посмотрите аппаратуру. А то суммарная АЧХ не совпадает с полосой НЧ на НЧ (каламбур).
300 Гц тут тоже лишние. Эта АС стоИт не в углу? Реально мало НЧ.
 
Сч полоса не похожа... Проверьте номиналы делителя, далеко вверх забралась, типа, 6,6 Ом не на месте. Так даже лучше... Интересно: разные СЧ или фильтры?
У Вас сильнейший фон 50 и 100 Гц, посмотрите аппаратуру. А то суммарная АЧХ не совпадает с полосой НЧ на НЧ (каламбур).
300 Гц тут тоже лишние. Эта АС стоИт не в углу? Реально мало НЧ.
Николай, от Вас ничего не скрыть! Второй канал тоже был подключён. Там фон, прямонакалы. Ночь, мерил на малых уровнях. АС - не в углу немного. В углу шкаф, АС возле шкафа. Делитель на СЧ верный - 6,6 параллельно динамику. Значит, дины разные, видимо.

Сделал наложение графиков с правого и левого канала. Подгонял расположение графиков - по пищалке.
1.png

2.png
 
Последнее редактирование:
Николай, от Вас ничего не скрыть! Второй канал тоже был подключён. Там фон, прямонакалы. Ночь, мерил на малых уровнях. АС - не в углу немного. В углу шкаф, АС возле шкафа. Делитель на СЧ верный - 6,6 параллельно динамику. Значит, дины разные, видимо.

Сделал наложение графиков с правого и левого канала. Подгонял расположение графиков - по пищалке.
Посмотреть вложение 81519
Посмотреть вложение 81520
(Ой, тямно, тямно, ничегошеньки не видать) На полной яркости что-то видно.
СЧ немного разные, причем разница больше не на 4 кГц, а на 700 Гц. Суммарная АЧХ второй АС даже ровнее, но есть разница в паре, подумаем. ВЧ полоса без претензий.
Весёлый прямонакал, да...
 
Последнее редактирование:
Ой, тямно, тямно, ничегошеньки не видать
это чтобы цвета линий были разными. Иначе - правая и левая одним цветом, сливаются и непонятно где какая.
1.png

2.png


Весёлый прямонакал, да...
Я писал ранее - плохого качества электролиты 10000/16, которые стоят в выпрямителе накала - вздулись и из них потёк электролит. Думаю, они уже не фильтруют пульсации. Из-за этого и фон, по моему предположению. Но в реальности - этот фон не такой ужасный, музыку слушать вполне. Новые электролиты - заказал, жду.
 
Последнее редактирование:
Обратите внимание: у обеих АС акцент на 300...600 Гц, и это - работа НЧ полосы. Вторая АС собственно НЧ дала немного, вот Вам и малабаса. Я - за присадку зоны 300...600 изменением ФНЧ. Это лучше решать по факту, когда будет настраиваться басовое звено на РР с другим Rвых.
 
Обратите внимание: у обеих АС акцент на 300...600 Гц, и это - работа НЧ полосы. Вторая АС собственно НЧ дала немного, вот Вам и малабаса. Я - за присадку зоны 300...600 изменением ФНЧ. Это лучше решать по факту, когда будет настраиваться басовое звено на РР с другим Rвых.
Объясните мне (пожалуйста). При переходе на УНЧ с увеличенным Rвых - АЧХ остаётся такой же, или меняется? Есть смысл мерить АХЧ с PP УНЧ (PP - c Rвых=4,1 Ом у меня)?
То, что "300-600" - вижу. Но это с малого расстояния (1 м) и не по оси басовика. На расстоянии 3 м и на уровне ушей стоя - в этой зоне (300-600) уже идёт на спад бас.
 
Последнее редактирование:
При переходе на УНЧ с увеличенным Rвых - АЧХ остаётся такой же, или меняется? Есть смысл мерить АХЧ с PP УНЧ (PP - c Rвых=4,1 Ом у меня)?
АЧХ меняется вокруг резонансной частоты, в данном случае, максимальная разница будет на 45 Гц. От 100 Гц и до начала роста импеданса НЧ полосы (350 Гц, если НЧ дин без фильтра и 200 Гц, если с фильтром) разницы не будет. Выше будет небольшой (2дБ) задир АЧХ.
То, что "300-600" - вижу. Но это с малого расстояния (1 м) и не по оси басовика. На расстоянии 3 м и на уровне ушей стоя - в этой зоне (300-600) уже идёт на спад бас.
#3,564 - в общем, да, 600 Гц убралось, но 300 Гц - нет. А от второй АС - нет данных.
 

Статистика форума

Темы
3,304
Сообщения
263,142
Пользователи
2,544
Новый пользователь
vlad'mir
Назад
Сверху Снизу