Германиевые УНЧ

?????????
Это как так ?
Д7 - частота ДО 2,5 кГц по памяти. Потом - это уже конденсатор. (с 1,1 кГц до 2,5 кГц это переходной комбинированный "дЭтал")
У Д9 =100 кГц.
Это же не дэтэктор в приёмнике, а баксандал. Его ещё и конденсатором шунтируют иногда, чтобы приблизить по свойствам к переходу транзистора. А какие свойства перехода у мощного сплавного транзистора? Низкочастотные. Это и нужно повторить приближённо.
 
Последнее редактирование:
может, но транзисторы нужны высокочастотные (хотя бы первый), а где его взять Н-П-Н?
Ото ж бо. smile_10Тому, таки "НЕ МОЖЕТ"(С).
Дві сторінки потеревенили і таки повернулись до заповітів старого Баксандалла.
Реальність сувора_da
Вот, для больших познаний симулятор осваиваю, с его помощью многое понял, что и как влияет.
Но, заодно, уже понял и ограниченность такого обучения.
Системных знаний и опыта жутко не хватает, чем больше узнаю, тем больше понимаю, что древо познаний огромно и на верхушку мне не долезть....
Саме тому, вкотре пропоную відкласти симулятор і опановувати системні знання, читаючи відповдні підручники.
Симулятор то інструмент для тих, хто вже зліз з дерева, добрався до коріння. Вам він сьогодні лише шкодить, поглиблюючи плутанину у ваших мізках і спонукаючи вас на дурниці.
 
Последнее редактирование:
Опять эти басни, что в цирклотроне нет сквозных токов.
В цирклотроне без ООС нет сквозных токов. Я ставил в германиевый цирклотрон П217, ГТ703 и никаких "сквозняков" не наблюдал, но АЧХ валилась на этих транзюках уже после 8 кГц. Сквозных токов нет и на ГТ806, 1Т813. АЧХ на этих германцах линейная до 100 кГц.

P.S. Не плохо бы изучить как работает схема цирклотрона и тогда всё будет понятно.
 
Последнее редактирование:
Это же не дэтэктор в приёмнике, а баксандал. Его ещё и конденсатором шунтируют иногда, чтобы приблизить по свойствам к переходу транзистора. А какие свойства перехода у мощного сплавного транзистора? Низкочастотные. Это и нужно повторить приближённо.
да, но....
Транзтсторы НЧ, какими бы они НЧ ни были, а всёж как ни как 200 кГц пропускают, в усилительном режиме, как ни как.
А вот Д7 частота предельная =2,5 кГц.... вернее на 10 кГц напряжение падает больше сем на 2,5 кГц на 20%, а на 20 кГц на 50%.
Вот насколько это плохо я не знаю, в конкретном случае применения Баксандала
 
Вот насколько это плохо я не знаю, в конкретном случае применения Баксандала
Диод баксандала, не работает как диод в обычном представлении. Он имитирует переход б-э мощного транзистора в паре дарлингтона. Тем самым изменяет кривуюю зависимости тока от напряжения пары шиклай, до формы, как в паре дарлингтона, приблизительно.
PP_stage_quasicomplementary_asymmetry.png
Резистором, конденсатором и разными полупроводниками, можно менять эту кривую, и её зависимость от тока и частоты. Идеально не получится, но по вкусу можно (или нужно) настроить.
 
Последнее редактирование:
Объясните бестолковому. Если германий так хорош наличием своих удивительных гармоник, облагораживающих звук, по мнению звуковых эстетов, то... никак не могу понять, почему 90% обсуждений темы посвещено тому, как эти гармоники снизить?!!!
Ведь как недолампадники поступают... Берут обычный стандартный транзисторный усилитель (самые дерзкие даже в классе Д)... на вход ему присовокупляют лампочку... и готово дело!!! Получите и распишитесь! Гармонизация звука, туды ж его в качель! Обогащение звука нужными полезными гармониками. Ламповый звук почти за бесплатно!
Так почему же с германием какой-то другой подход? Уверены ли приверженцы германия, что поступают правильно, стремясь к уменьшению этих самых гармоник, ради которых все и затевается?
 
Объясните бестолковому. Если германий так хорош наличием своих удивительных гармоник, облагораживающих звук,
У германия нет гармоник, у бензина нет выхлопных газов, у барана нет шерстяных носков, понятно?
 
"Германій" (С) то просто одна з застарілих технологій, що приймають участь в перетворенні електричних сигналів, що, можливо, колись стануть звуком. Тому, розмови про гармоніки з нефахівцями призводять до психічного розладу під назвою "овдиофайлія". Чи воно вам потрібно? :)
 
Последнее редактирование:
И, кстати, кто нибудь обьяснит мне, не в меру любопытному, ПОЧЕМУ у ГЕРМАНИЕАОГО диода Д9 падение напряжения =1 вольт????
Тогда как ВЕЗДЕ пишут, что падение на 1м переходе германия =0,2-0,3 вольт, а на переходе кремния =0,5-0,7 вольт
От тока зависит. Мой один мультик при прозвонке Д9 показывает 0,22, второй 0,32. Если 1 вольт, значит ток большой для Д9. А при 1,5 он может перейти в режим светодиода, не на долго.
Снимок.JPG

1 вольт, это почти предел по току для д9, и он от буквы зависит.
 
Последнее редактирование:
От тока зависит. Мой один мультик при прозвонке Д9 показывает 0,22, второй 0,32. Если 1 вольт, значит ток большой для Д9.
Такая же сволочь с названием германий , точнее Д18, впаянная в цепочку термостабилизации мошного германыча, упалила скромный запас П605-х
 
да это всё понятно.
У самого ТАКАЯ картинка сохранена - на память, долгую и добрую :) :) :)
Навіщо вам та картинка, якщо ви не зрозуміли в ній нічого, взагалі?
Мы об др толкуем - об ЧАСТОТНЫХ СВОЙСТВАХ оного диода.
Ведь, по идее, рабочая частота этого диода должна быть НЕ УЖЕ частоты подпёртого диодом транзистора. (а Д7 намного менее частотный, чем ДЮБОЙ транзистор)
Ну и ток не менее допустимого транзистором.
Це також набір послідовностей літер, суть яких залишається для вас незрозумілою.
И, кстати, кто нибудь обьяснит мне, не в меру любопытному, ПОЧЕМУ у ГЕРМАНИЕАОГО диода Д9 падение напряжения =1 вольт????
Тогда как ВЕЗДЕ пишут, что падение на 1м переходе германия =0,2-0,3 вольт, а на переходе кремния =0,5-0,7 вольт
Не читайте на парканах. Там і не таке можуть написати.
Падіння напруги на pn переході залежить від площі переходу, температури переходу і струму крізь перехід. Вам стало легше?
 
КОНЕЧНО!

ЧТО генерит ?
Кстати, 47 омов как бы не маловато ?
А не приделать ли там параллельно керамику эдак пикофарад 100-200 ?

Хотя может и не подходит этот Д7 туда.
Я же писал, что почастотней надо бы.
 
КОНЕЧНО!

ЧТО генерит ?
Кстати, 47 омов как бы не маловато ?
А не приделать ли там параллельно керамику эдак пикофарад 100-200 ?

Хотя может и не подходит этот Д7 туда.
Я же писал, что почастотней надо бы.
Генератор.
47 гуд.
Нафига?
Для гт806 скорее нет, для п21х должен подойти, как вариант.
Надо, ставьте почастотнее.
 
Ставьте мп20,21,гт308 диодом и не парьте моск
 
Диод точечный (первая технология ППП)))
Вернее всего собрать измер-макаку и глянуть реальное поведение диода , подав на него с генератора токовый импульс или синус, на экране скопа сравнив кривульки.
 
И, кстати, кто нибудь обьяснит мне, не в меру любопытному, ПОЧЕМУ у ГЕРМАНИЕАОГО диода Д9 падение напряжения =1 вольт????
Тогда как ВЕЗДЕ пишут, что падение на 1м переходе германия =0,2-0,3 вольт, а на переходе кремния =0,5-0,7 вольт
Все дело в ГОСТ, во время появления диодов (медно-закисных, селеновых, германиевых), начало 50-х годов, если посмотреть формулу ВАХ полупроводника:
img69.jpg

сила тока, проходящего через полупроводник, зависит от приложенного напряжения. Вот и стали применять.

p0008_1.jpg
Позже, в 70-х годах, определения ГОСТ изменили, так как разброс прямого тока при приложенном напряжении большой и к нему трудно привязаться, приняли определение прямого напряжения от приложенного прямого тока (хотя оно и было ранее). Все из-за того, что удобнее стандартизировать рамки параметров, ведь разброс прямого напряжения от прямого тока небольшой.
p0009.png
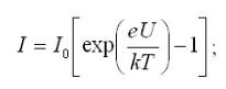
Вот параметры Д9 из старого справочника
p0002.png
ВАХ Д9
p0003.jpg
 
Все дело в ГОСТ, во время появления диодов (медно-закисных, селеновых, германиевых), начало 50-х годов, если посмотреть формулу ВАХ полупроводника:
Посмотреть вложение 121418
сила тока, проходящего через полупроводник, зависит от приложенного напряжения. Вот и стали применять.

Посмотреть вложение 121419
Позже, в 70-х годах, определения ГОСТ изменили, так как разброс прямого тока при приложенном напряжении большой и к нему трудно привязаться, приняли определение прямого напряжения от приложенного прямого тока (хотя оно и было ранее). Все из-за того, что удобнее стандартизировать рамки параметров, ведь разброс прямого напряжения от прямого тока небольшой.
Посмотреть вложение 121420
Вот параметры Д9 из старого справочника
Посмотреть вложение 121421
ВАХ Д9
Посмотреть вложение 121422
Блестящий ответ. Всё ясно как божий день.
Добавлю, что еще в бытность работы в метрологии завода шеф отбирал стабилитроны на указанном в справочнике номинальном токе . 10 мА. И ежели сейчас глянуть в ВАХи д9, то получится что-то в районе 0,5 вольта. Такой вот ничего себе "германий"
 
slami, ШИКАРНЫЙ пост !!!

Хотя вполне достаточно было картинки с ВАХами.
Я гоголя тыкал вчера часа 2. И так и сяк. Так и не нашёл никаких ВАХов, на Д9.
СЕКРЕТНЫЕ наверно... :-(
 
Вернее всего собрать измер-макаку и глянуть реальное поведение диода , подав на него с генератора токовый импульс или синус, на экране скопа сравнив кривульки.
Якщо вже колхозити характеріограф, краще використати пилоподібний, або трикутний сигнал.
Тоді кривульки будуть схожими з тими, що малюють на парканах, а не на безсмертні творіння Пікассо, які ще розтлумачувати потрібно, бо кожен "художник" бачить по-своєму. Але, це швидше для збоченців. Для практикуючого рукосуя достатньо було б виміряти пряме падіння напруги при одному-двох рівнях струму крізь бідолаху діод, близьких до таких, під якими той працюватиме в схемі. А перед тим таки прочитати на паркані про закладені виробником рекомендації зі сфери використання діоду.
А то звикли тут дехто виготовляти підсилювачі для звуку на транзисторах від електровозу чи строчної розгортки, розумієте. smile_1
Ставьте мп20,21,гт308 диодом и не парьте моск
Таке лише Баксандалл з Шоу могли собі дозволити. У наших рукосуїв-збоченців свій шлях. У кожного _da
Я гоголя тыкал вчера часа 2. И так и сяк. Так и не нашёл никаких ВАХов, на Д9.
СЕКРЕТНЫЕ наверно... :-(
А ви таки продовжуєте читати на парканах? Закономірний результат. smile_10
 
Последнее редактирование:
На Д9 есть более точные ВАХ
p0504.pngp0507.pngp0510.pngp0513.pngp0516.png

ВАХ Д7
p0498.png

Д18
p0538.png
 
Схема ЧХ лучше всего играет, когда нет никаких баксандалов, и эмиттерных резисторов. ОУ всё баксандалит. Провёл много экспериментов в своё время, с оценкой звучания каждого варианта. Ставил разные баксандалы и в драйвер, и в цепь выходного тр-а. Не понравилось.
 
Д18, волк позорный, германиевый.
Діод, як діод. Детекторний, імпульсний. Точковий, тобто з надмалою площею переходу. Та ще й в скляному корпусі, тобто з надвеликим тепловим опором.
Такая же сволочь с названием германий , точнее Д18, впаянная в цепочку термостабилизации мошного германыча, упалила скромный запас П605-х
То дехто збочений рукосуй, що використовував цього бідолаху в непритаманному для нього амплуа. Так в чому ж секрет? :)
 
Последнее редактирование:
Схема ЧХ лучше всего играет, когда нет никаких баксандалов, и эмиттерных резисторов. ОУ всё баксандалит. Провёл много экспериментов в своё время, с оценкой звучания каждого варианта. Ставил разные баксандалы и в драйвер, и в цепь выходного тр-а. Не понравилось.
ОУ "баксандалит" выходные каскады, особенно хороший ОУ, но в схемах без ОУ диод играл свою роль. Например, в данной схеме транзистор Q3 "видит" нагрузку в эмиттере через усиление Q5, как 4 Ом х 50 = 200 Ом, а Q1 как 4 Ом - перекос. Для выравнивания местной ОС ставили диод Баксандала, резистор параллельный диоду выравнивал сопротивление нагрузки в эмиттере Q1 на постоянном токе и в режиме малого сигнала, при большом же сигнале начинал действовать диод. Хотя Вы наверное и так знаете...
 
Объясните бестолковому. Если германий так хорош наличием своих удивительных гармоник, облагораживающих звук, по мнению звуковых эстетов, то... никак не могу понять, почему 90% обсуждений темы посвещено тому, как эти гармоники снизить?!!!
Вы откровенно манипулируете. Никто не писал здесь об "удивительных", особых, "благозаучных" гармониках германия.
Зато упоминали об высокой линейности большей части германиевых транзисторов. Снизить гармоники естественное желание у всех, в том числе и у профанов. Но у части участников дискуссии есть понимание, что важен не столько уровень гармоник, сколько их спектр. Они знают о спектре искажений нашего уха, о том, что вторая гармоника не заметна и до 10%. Она не "приукрашивает" звук, она просто НЕЗАМЕТНА для уха. Они знают, что заметность уровня гармоник не линейно зависит от их номера, резко возрастая с увеличением этого номера.
Тогда снимается "детский" вопрос, почему незаметны большие проценты гармоник микрофона, звукоснимателей, винила, магнитной ленты, а подчас заметны сотые и тысячные доли процента гармоник усилителей.
Тех усилителей, у которых частокол гармоник равной высоты, до 19-й и выше.
Ведь как недолампадники поступают... Берут обычный стандартный транзисторный усилитель (самые дерзкие даже в классе Д)... на вход ему присовокупляют лампочку... и готово дело!!! Получите и распишитесь! Гармонизация звука, туды ж его в качель! Обогащение звука нужными полезными гармониками. Ламповый звук почти за бесплатно!
Есть еще такая штука как эффект маскирования гармоник большего номера гармониками низшего номера. Вторая замаскирует третью. И обе имеют шанс стать гораздо менее заметными, чем одна третья, того же уровня, но без наличия второй. Здесь полезно еще помнить и об ауральных гармониках.
Так почему же с германием какой-то другой подход? Уверены ли приверженцы германия, что поступают правильно, стремясь к уменьшению этих самых гармоник, ради которых все и затевается?
Вот выложил ранее схему, спектр, ссылку на усилитель Ge-UF-25W. Спектр чудесный, лучше, чем у многих не только ламповых однотактников, но и лучше спектра гармоник многих динамиков.
Но уровнем на порядки ниже уровня гармоник динамиков.
И прошел он совершенно мимо внимания. Кинулись обсуждать "диод Баксандала".
А также разницу между "ступеньками", "полочками" в плече Дарлингтона, и плече по схеме Шиклаи.
Даже с диаграммами. Но тут же выскочило из внимания то, что эти полочки у германия вовсе не 1,5 и 0,7 вольт соответственно, а раза в три меньше. И эти "полочки" есть только в режиме класса В.
 
Последнее редактирование:
наверно всё так, тем более - практичсеским опытом.
А у меня несколько др результаты, правда симуляторные.
Ковырял я Шушурина78 - Баксандалову сборку - параллельно резистор, диод и конденсатор.
Гормоники и одновременно контролировал ФЧХ.
При игре резистором уезжает ток ВК. Если резистор увеличивается более 150-200 Ом, то рывком улучшается ФЧХ.
Конденсатор тоже имеет свой оптимум - 100-200 пф. Больше или меньше - гормоники увеличиваются.
Была подробная таблица и того и другого - снёс, для экономии места, чтоб не путалась под руками.
 

Статистика форума

Темы
3,310
Сообщения
264,125
Пользователи
2,550
Новый пользователь
Александр Н.
Назад
Сверху Снизу