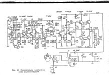
Германиевые УНЧ

Вопросы по эскорту
1 куда тыкать чтобы смотреть пол питания?
Вот прямо буквально мне нужна консультация
2 Сменили почти все кондёры и пропали прозрачные верха вообще как бы верха срезались.
На какой конденсатор смотреть?
3 какое питание более устойчивое от
помех в заведениях от света - родной трансформатор или импульсник с фильтрацией на выходе ?
4 как перепаять на джековый вход?
 

Вложения

  • IMG_20250506_210642.jpg
    IMG_20250506_210642.jpg
    446.2 KB · Просмотры: 264
Последнее редактирование:
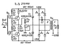
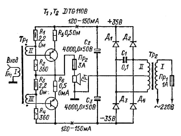
на одном корпусе выходника питание на втором пол питания относительно земли
что сменили?какие россы
выбросить Т5 поставить кт3107 выбросить Т6 поставить мп20,мп21
R33 уменьшить до 30,,,47ом
еще лучше сменить предвыход на гт402\404б,г
на выход по 2,,,3 впараллель гт403 у вас же их коробка ,совсем другой звук будет
 
Последнее редактирование:
R25 выбросить С11 перемкнуть
проэктировщик дебил был))) или с бодуна
т3,Т4 поставить гт308в,Г т3 с большей бэтой выбрать из пары
 
на одном корпусе выходника питание на втором пол питания относительно земли
что сменили?какие россы
выбросить Т5 поставить кт3107 выбросить Т6 поставить мп20,мп21
R33 уменьшить до 30,,,47ом
еще лучше сменить предвыход на гт402\404б,г
на выход по 2,,,3 впараллель гт403 у вас же их коробка ,совсем другой звук будет

R25 выбросить С11 перемкнуть
проэктировщик дебил был))) или с бодуна
т3,Т4 поставить гт308в,Г т3 с большей бэтой выбрать из пары
Не слушайте этого нэдебила. Законченная грамотная схема.
 
Я не собираюсь ничего в схеме переделывать
У меня 4 пункта есть
Про замеры Бокарев уже разжевал
 
Назрел элементарный вопрос, который вогнал меня в ступор. Короче есть у меня старенький приемник, у которого земля на +питания. Так как планку FM я купил и внедрил на место старого УКВ(на котором у нас уже нет ни одной станции Хочу внедрить в него на место ДВ (на котором тоже вещания нет ) Bluetooth , но у него земля традиционно на минусе питания. можно конечно приобрести у продавана готовую планку в 3 дорога, но жаба давит. Поэтому набросал такую модульную схему, но перед реализацией решил перестраховаться чтобы не устроить КЗ.
IMG_20250727_203400.jpg
Из пояснений отмечу, что клемма земли питания Bluetooth модуля соединена с землёй аудио выхода. И вот чешу репу и думаю как подключить аудио выход к земле и входу УНЧ приемника
 
Последнее редактирование:
- "стабилизатор" - 7905 - минус 5 В из минус 9 В;
- "модуль развязки питания" - https://radarkr.com.ua/p1440312615-...-vB4xk13xd6QqwpC-eB5LFysGRokD3wYaAq9LEALw_wcB
- выход ВТ через конденсатор на вход, а общий (GND) на общий приемника - иначе зачем гальваническая развязка?
Если такой вариант подходит, то уточним дальше.
PS. Я уже пугаться начал - больше полугода не появлялись...
 
- "стабилизатор" - 7905 - минус 5 В из минус 9 В;
- "модуль развязки питания"
Да 7905 и B0505
выход ВТ через конденсатор на вход, а общий (GND) на общий приемника - иначе зачем гальваническая развязка?
Я так и думал, ведь сигнал идёт переменного тока, но смутило то, что земля БТ модуля минусовая с аудио землёй соеденина, подумал что может быть нужно развязывающие конденсаторы на выходе БТ и на землю вешать и на выход, но я не очень хорошо понимаю принцип работы гальванической развязки B0505, поэтому и спросил на всякий случай.
Я уже пугаться начал - больше полугода не появлялись.
Та занимался разными бюрократическими делами и попутно реставрировал старый отцовский "Океан 209" менять электролиты пришлось откусывая ножки старых ибо дорожки хлипкие отслаиваются. За эти полгода развратил меня Ваш усилитель ( Каждый раз вспоминаю Вас с огромной благодарностью) - ничего другого слушать не охота. После него у всех других стерео панорама скукоживается, плоская и неинтересно слушать. А если трехполосные АС слушаю так вообще от такого звука отвык - все разваливается. А вот фоном этот Океан не раздражает, (может это ностальгические воспоминания, а может и особенности схемотехнического решения) раздражает репертуар, но у нас есть Винницкая станция Радио Такт которая крутит приличный Рок и Джаз, но для полного счастья БТ не помешает.
 
В Океане работает динамик 1ГД-4А минского выпуска, аналог рижского 1ГД-4 . Очень удачный. Единственное, по воспоминаниям звучал Океан мутновато, в силу каких причин- не знаю, но звук там удавленный без верхушек. Которыми и отличается УКВ схема. Неплохо было бы вывести звук напрямую с детектора на внешний усилитель.
 
подумал что может быть нужно развязывающие конденсаторы на выходе БТ и на землю вешать и на выход,
Смысл гальванической развязки как раз в том, что ее выходные цепи можно соединять с общим проводом схемы любым концом.

А вообще-то можно и без B0505 - подключить ВТ-модуль своим GND к минус 5 В, своим плюсом к общему усилителя. Выход, конечно же, через конденсатор. Ну и хорошая фильтрация выхода 7905 нужна - и электролит на сотню микрофарад и пленку на пару микрофарад и керамику на до 0,1 мкФ хорошую.

А у меня с портативными радиоприемниками не сложилось абсолютно. Братов ВЭФ переделывали по статье в Радио, где говорилось о монтаже, из той статьи выражение "гальванически верно" в памяти сидит крепко.
 
Смысл гальванической развязки как раз в том, что ее выходные цепи можно соединять с общим проводом схемы любым концом.

А вообще-то можно и без B0505 - подключить ВТ-модуль своим GND к минус 5 В, своим плюсом к общему усилителя. Выход, конечно же, через конденсатор. Ну и хорошая фильтрация выхода 7905 нужна - и электролит на сотню микрофарад и пленку на пару микрофарад и керамику на до 0,1 мкФ хорошую.

А у меня с портативными радиоприемниками не сложилось абсолютно. Братов ВЭФ переделывали по статье в Радио, где говорилось о монтаже, из той статьи выражение "гальванически верно" в памяти сидит крепко.
первая мысль была про двухполярное питание, с общей землей, относительно которой запитаны все кирпичики схемы. И те, что берут мизерный ток, можно вообще стабилитроном запитать.
 
В Океане работает динамик 1ГД-4А минского выпуска, аналог рижского 1ГД-4 . Очень удачный. Единственное, по воспоминаниям звучал Океан мутновато, в силу каких причин- не знаю, но звук там удавленный без верхушек. Которыми и отличается УКВ схема. Неплохо было бы вывести звук напрямую с детектора на внешний усилитель.
Я как раз поменял динамик на 2-ГД-38 из за мутности. Не могу определиться что лучше звучит : у штатного есть какая то неуловимая изюминка, но у 2ГД- 38 отличный "Панч" (вроде как и баса глубокого не стоит ожидать, но пинок такой, что может дать фору многим современным кирзовым динамикам) и "верхушек" предостаточно (несмотря на заявленные 12,5 кГц. Но и штатный в идеальном состоянии. Короче я ещё не решил, но пока замененный нравится больше

вообще-то можно и без B0505 - подключить ВТ-модуль своим GND к минус 5 В, своим плюсом к общему усилителя. Выход, конечно же, через конденсатор
Так есть в наличии B0505. Когда то купил упаковку, делал племянникам колонки из старых мылницо-магнитольных корпусов, а этот модуль полезен для устранения писка БТ.

звучал Океан мутновато, в силу каких причин- не знаю
Кстати, я думаю что в те времена хватало у них безкислородной меди, поэтому и воздуха в звуке маловато. Именно по этой причине решил внедрить БТ, чтобы по пути от источника к усилителю приемника звук насыщался воздушностью 🤣
 
Я как раз поменял динамик на 2-ГД-38 из за мутности. Не могу определиться что лучше звучит : у штатного есть какая то неуловимая изюминка, но у 2ГД- 38 отличный "Панч" (вроде как и баса глубокого не стоит ожидать, но пинок такой, что может дать фору многим современным кирзовым динамикам) и "верхушек" предостаточно (несмотря на заявленные 12,5 кГц. Но и штатный в идеальном состоянии. Короче я ещё не решил, но пока замененный нравится больше
1ГД-4 на АЧХ точно бежит до заявленных 12 килогерц, но только на оси. А приемник редко смотрит вам в ухи своей центральной осью, обычно звучит в сторону, где нет верхов от слова совсем.

Кстати, я думаю что в те времена хватало у них безкислородной меди, поэтому и воздуха в звуке маловато. Именно по этой причине решил внедрить БТ, чтобы по пути от источника к усилителю приемника звук насыщался воздушностью 🤣
Сам усилитель в том Океане может быть неважный. И верхушки придавлены схемой, запросто. Мне как бы проще, дал сигнал от измерилы, глянул на экран, плюнул, все ясно. Уносите.
 
По поводу гибридного германиево-лампового усилителя Аббаса.
Действительно, на его сайте инфы осталось немного. Меня сильно впечатлила АЧХ усилителя с П210 на выходе. По памяти, 50 кГц не менее. Не доверять оснований нет, т.к. Аббас свои изделия продает на Запад, а там ребята всё проверяют.
Наскрёб по сусекам немного инфы в ПДФ.
 

Вложения

Последнее редактирование:
По поводу гибридного германиево-лампового усилителя Аббаса.
Действительно, на его сайте инфы осталось немного. Меня сильно впечатлила АЧХ усилителя с П210 на выходе. По памяти, 50 кГц не менее. Не доверять оснований нет, т.к. Аббас свои изделия продает на Запад, а там ребята всё проверяют.
Наскрёб по сусекам немного инфы в ПДФ.
у П210 полоса в схеме с ОЭ по моим замерам -4 килогерца. Умножим на бэтту, получим полосу в схеме с ОК. Так и выйдет сотня килогерц.
 
вся беда что входное сопротивление ОК на вч стремительно падает у них поэтому ток предвыходных 402\404 надо делать большим(резисторы в базах п210 16...20ом,,а после УН ставить буфер с ОК на п605а с током 50ма
либо применять трансформаторное управление с мощным драйвером
германец п210.png

можно попробовать ускорить закрывание нижнего выходника установкой дополнительного транзистора (оранжевый на схеме) мп38а
германец п210.png
 
Последнее редактирование модератором:
По поводу гибридного германиево-лампового усилителя Аббаса.
Действительно, на его сайте инфы осталось немного. Меня сильно впечатлила АЧХ усилителя с П210 на выходе. По памяти, 50 кГц не менее. Не доверять оснований нет, т.к. Аббас свои изделия продает на Запад, а там ребята всё проверяют.
Наскрёб по сусекам немного инфы в ПДФ.
А схемы его нету случаем с п210 и лампа на входе?
По этой получится собрать, изменить номиналы и напряжение питания, вместо ADZ12 , поставить п210, вместо AD167 тоже наш какой нибудь? А лучше лампу в раскачку, вместо входного и предвыходного, нагрузить её сразу на первичку, а дальше германий п210 как втором фото. Там непонятно с питанием, зачем 2 питания.
В схеме 3, зачем нужен дроссель между транзисторами?
Ещё такие схемы нашел 1, 2.
 

Вложения

  • post-165140-0-89517400-1353864824.jpg
    post-165140-0-89517400-1353864824.jpg
    74.5 KB · Просмотры: 90
  • germanium5.jpg
    germanium5.jpg
    53.3 KB · Просмотры: 92
  • 151350412848237439.jpg
    151350412848237439.jpg
    84.6 KB · Просмотры: 88
  • 148578412004178087.jpg
    148578412004178087.jpg
    107.8 KB · Просмотры: 78
Последнее редактирование:
на всю полосу п210 не стоит применять,только на нч канал,до 4кгц
на вч лампу или если хочется германий,то на п605 сделать,там мощи надо намного меньше
в циклотроне зачем дроссель?
 

Вложения

  • Hybrid_Circlotron.jpg
    Hybrid_Circlotron.jpg
    55.3 KB · Просмотры: 57
Последнее редактирование:
на всю полосу п210 не стоит применять,только на нч канал,до 4кгц
на вч лампу или если хочется германий,то на п605 сделать,там мощи надо намного меньше
в циклотроне зачем дроссель?
Я не знаю зачем там дроссель в 3 схеме.
Тогда на 806 выход, трансформатор и лампу на вход.
Как тогда выжимают 16-20кгц с п210 и похожих по частоте 0.1-0.2мгц?
 
А схемы его нету случаем с п210 и лампа на входе?
По этой получится собрать, изменить номиналы и напряжение питания, вместо ADZ12 , поставить п210, вместо AD167 тоже наш какой нибудь? А лучше лампу в раскачку, вместо входного и предвыходного, нагрузить её сразу на первичку, а дальше германий п210 как втором фото. Там непонятно с питанием, зачем 2 питания.
В схеме 3, зачем нужен дроссель между транзисторами?
Ещё такие схемы нашел 1, 2.
Это всё не то. Аббас категорически отказался от применения трансформаторов в этих усилителях, о чем подробно и писал. Связь с входным ламповым каскадом через конденсатор. В предвыходе импорт с большим током. Об отсутствии нужных npn транзисторов с хорошей частоткой он тоже писал, поэтому применил два тр-ра в Шиклаи. Но всё равно как он добился незаваленных ВЧ? Загадка:unsure:
Готовой схемы он не оставил, по понятным причинам. И судя по номенклатуре на сегодня, этого усилителя нет в списке даже под заказ. Более актуальны другие изделия, в основном ЦАПы.
 
Последнее редактирование:
Я не знаю зачем там дроссель в 3 схеме.
Тогда на 806 выход, трансформатор и лампу на вход.
Как тогда выжимают 16-20кгц с п210 и похожих по частоте 0.1-0.2мгц?
Путаете частоту включения ОЭ с ОК .

Локина схема в виде цирклотрона выжмет и 100 килогерц, остальные обделаются раньше по причине несимметричного включения. (Нижний этаж ОЭ, верхний ОК. )
 
Это всё не то. Аббас категорически отказался от применения трансформаторов в этих усилителях, о чем подробно и писал. Связь с входным ламповым каскадом через конденсатор. В предвыходе импорт с большим током. Об отсутствии нужных npn транзисторов с хорошей частоткой он тоже писал, поэтому применил два тр-ра в Шиклаи. Но всё равно как он добился незаваленных ВЧ? Загадка:unsure:
Готовой схемы он не оставил, по понятным причинам. И судя по номенклатуре на сегодня, этого усилителя нет в списке даже под заказ. Более актуальны другие изделия, в основном ЦАПы.
Читал, но сам не слышал.
Есть интерес собрать усилитель, лампа на входе, трансформатор и 2 германиевых транзистора, п210 или п4, АВ класс с небольшим напряжением.

Локина схема в виде цирклотрона выжмет и 100 килогерц, остальные обделаются раньше по причине несимметричного включения. (Нижний этаж ОЭ, верхний ОК. )
А вы слышите эти 100кгц?
На что влияет к примеру 100кгц усилитель пропускает или 15кгц с плавным спадом?
 
если хотите п210 то лучше транса для управления нет ничего,правда лучше намотать на дроссель обмотку ОС тонким проводом ,и ввести не глубокую оос на катод лампы,тогда в АВ будет хорошо
транс очень быстро закрывает транзисторы и сквозной ток при переключении не возникает
но я бы не гнался за германием,проще сделать ламповый пред плюс повторитель на кремнии в А классе
полоса 20кгц нужна для работы оос и снижения искажений ,при введении оос полоса расширяется на глубину оос,например оос=10дб ,то полоса будет уже не 20кгц а 60кгц
 
Последнее редактирование:
вот так на германии п210,но я бы параллелил гт403 у них частота в 4 раза выше,бэтта выше и тоже сплавные!
лампа 6э5п или 6п15п но последней транс требовательнее
 

Вложения

  • гибрид п210.jpg
    гибрид п210.jpg
    191.4 KB · Просмотры: 76
Последнее редактирование:
Даже слегка непонятно, зачем цирклотрону с П210 на выходе, нужен автотранс.
 
Видать, нежно любит скандинавское божество моточные изделия.
Мне они тоже нравятся, когда удалась намотка.
Но пока трансформатор в процессе намотки, радость перемежается матом.
 

Статистика форума

Темы
3,314
Сообщения
264,538
Пользователи
2,550
Новый пользователь
Александр Н.
Назад
Сверху Снизу