Германиевые УНЧ

1. п215 и гт806. 1т813 у меня никогда не было, а так просто не привык..
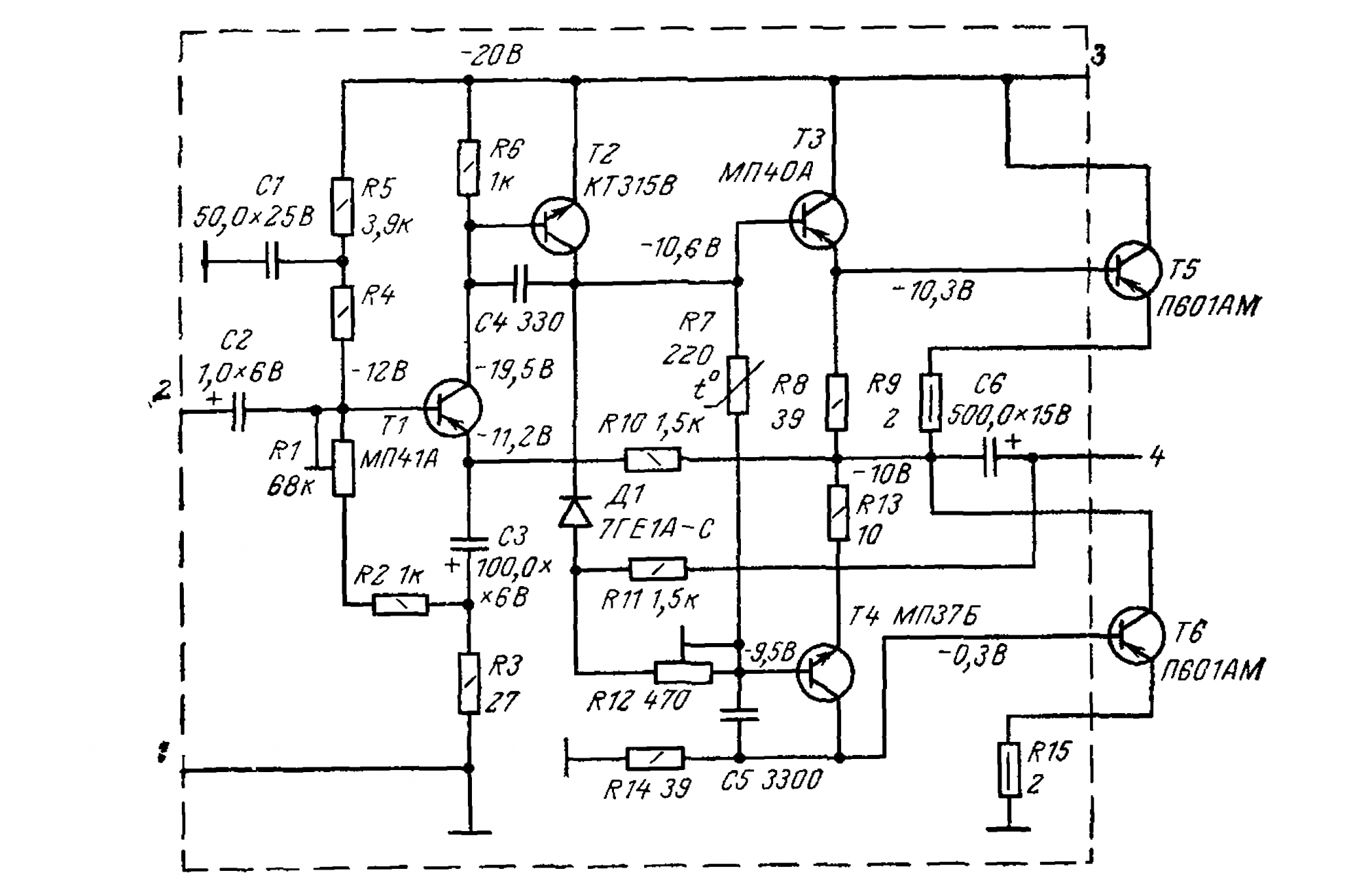
1. Схема Корвета-стерео.
 
появились вопросы :
1.сразу после первого транзистора видится схема АККОРД-001, а вот первый каскад что то для меня непонятно как питается , у аккорда там отдельный источник на 22в, а тут чего ?питание от половины питания ?это такая хитрая ООС ?
2.диод в эмиттер 104 транзистора это зачем? и назначение С108 ?
3. насколько по схеме WP можно просадить питание ? у меня транс только 24 по переменке выдает .
4.какой ток покоя ?
5. самое главное , где можно узреть оригинал с обсуждением ?
подскажите ?
схема аккорда на всякий случай во вложении.
вопросы собственно от того ,что требуется собрать германиевый усилитель, но красивые радиаторы которые имею не позволяют собрать ГерХАБ (Германиевый Худ от АБ smile_33), площадь мала и все греется дико .
прицелился повторить Аккорд001 , но если на пальцах поясните чем схема от WP лучше чем родная от Аккорда , буду бесконечно КУ.
транзисторы для выхода подобраны в квартет п215 , 1т813 , гт806, 1т910ад....полная коллекция - ставь чего хочешь)))
1. Вход на первом транзисторе почти один в один как у Худа
2. Диод Баксандала, вроде как уменьшающий искажения, не сильно давно обсуждали в теме про испытания транзисторов. С108 ускоряет перезарядку входной емкости VT103 так как база включена через резисторы R110 и R111, но в данной схеме транзистор низкочастотный, емкость базы не высокая, усилитель не быстродействующий (скорость нарастания невысокая), ИМХО С108 неактуален.
4. Ток покоя на глазок раза в 3 больше чем у Аккорда-001
 
чем схема от WP лучше чем родная от Аккорда
Сохранил у себя картинки)) Аккорд 201, искажения, спектр, интермоды. Звук просто "волшебный"))
Аккорд спектр.jpg
аккорд интермоды.jpg

Взято отсюда. Там много чего есть почитать и картинки есть) http://rt20.mybb2.ru/viewtopic.php?f=3&t=97667
 
Для сравнения, какая схема лучше?
wega101s_bd_003.jpgЭлектрон-20_003.jpg

Ответ: схема Электрон-20, Корвет-стерео, Маяк, Юпитер, Вильма, Тоника и т.д.
Вега-101, Аккорд далеко сзади, и H.C.Lin 1956г...

И даже Мелодия-101
melodija101s_bds_007.png
 
Последнее редактирование модератором:
ГТ7 303 (Болгария)
между прочим -стоит копейки , а сам шикарен
 
ГТ7 303 (Болгария)
между прочим -стоит копейки , а сам шикарен
Добавлю, старое название SFT214 и AD303
Ge-PNP 3/6A 60/40V 40W B=20-150(2A) 200kHz(0,5A), усиление разбито на диапазоны и дополнительно маркируется цветными точками на корпусе, корпус ТО-3
 
Для сравнения, какая схема лучше?
Посмотреть вложение 18857Посмотреть вложение 18858

Ответ: схема Электрон-20, Корвет-стерео, Маяк, Юпитер, Вильма, Тоника и т.д.
Вега-101, Аккорд далеко сзади, и H.C.Lin 1956г...

И даже Мелодия-101
Посмотреть вложение 18875
А,значит я всё таки слушал германий,у меня как раз была такая в юности года 3-4.Звук хороший,приёмник нравилось как звучал.И приёмних очень хорошо ловил и далеко)Пластинки насколько запомнил звучали ярковато,высоковато.Колонки я только заменил под конец пользования на 15АС Веговские и всё.
Мелодия 101 была,полный комплект,выкупил у дяди за 100р в 87 году что ли,чтоб он себе апгрейд сделал на Радиотехники комплект новый.Я тогда в ПТУ учился,как раз с стипендии за несколько раз и отдал.Продал по необходимости в 91. И потом долгие - долгие годы у меня ничего серьёзного из звука не было)
 
Виктория-001, такая же схема, отличия лишь у Мелодии в питании
f.1975-01.038.jpg
 
Последнее редактирование модератором:
Мелодия-101-стерео = Виктория-001-стерео
Мелодия101_Виктория 001.jpg
 
Последнее редактирование модератором:
Добавлю, старое название SFT214 и AD303
Ge-PNP 3/6A 60/40V 40W B=20-150(2A) 200kHz(0,5A), усиление разбито на диапазоны и дополнительно маркируется цветными точками на корпусе, корпус ТО-3
Комплементарной пары, часом, к нему нет?
 
Купил это чудище эскорт
Какова мощность 70-х
В пересчёте на нынешние rms?
Через вилку для бат блока под 9 вольт
Можно подавать любую постоянку от9 до 25 вольт?
IMG_20210814_154323.jpg
 
Последнее редактирование модератором:
9 вольт до 0,7 Вт, считайте как хотите
 
Купил это чудище эскорт
Какова мощность 70-х
В пересчёте на нынешние rms?
Через вилку для бат блока под 9 вольт
Можно подавать любую постоянку от9 до 25 вольт?Посмотреть вложение 19766
О! Один из первых усилков, собранных в детстве. Именно на нем я почувствовал разницу между 4*4гд28 и 4*4гд35 :)
 
Скажу прописные истины- Мощность зависит от напряжения питания и мощности БП (транса)
Главное не превысить возможности транзисторов.
 
А это 3-4 ватт на 8 ом
Ну там 2 Вт номинал 4 максимальная динамик 4 гд 28
4 ом то бишь.
Меня в данный момент интересует запитать его от 6 x 18650. В итоге те же 25 Вольт 2 ампера и как эта мощность по гостам 70-х соотносится с мощностью rms? вроде бы надо умножать на полтора то есть два гостовских вата равно 3 Вт rms. Я примерно прав или несу опять бред?
Просто когда я включал концертный 304 maximal на 3 Вт у него во-первых звук гораздо интересней всех этих Тда тпа, во-вторых он громкий.
Но именно звук кардинально другой у гитары!
Очень сильно другой.
Лучше, мягче, вкусней, круглей
 
Ну там 2 Вт номинал 4 максимальная динамик 4 гд 28
4 ом то бишь.
Меня в данный момент интересует запитать его от 6 x 18650. В итоге те же 25 Вольт 2 ампера и как эта мощность по гостам 70-х соотносится с мощностью rms? вроде бы надо умножать на полтора то есть два гостовских вата равно 3 Вт rms. Я примерно прав или несу опять бред?
Просто когда я включал концертный 304 maximal на 3 Вт у него во-первых звук гораздо интересней всех этих Тда тпа, во-вторых он громкий.
Но именно звук кардинально другой у гитары!
Очень сильно другой.
Лучше, мягче, вкусней, круглей
Может попробовать с 12 вольт хотя бы? Не спалите?
 
Купил это чудище эскорт
Какова мощность 70-х
В пересчёте на нынешние rms?
Через вилку для бат блока под 9 вольт
Можно подавать любую постоянку от9 до 25 вольт?
Посмотреть вложение 19766
Пришло
23,1 вольта идёт
На схему
Звука почти нет
Нч шуршит - просит "контакт-61"
В микрофонный вход иногда получается что-то услышать
Лампочка не горит
IMG_20210818_115518.jpgIMG_20210818_115507.jpgIMG_20210818_115229.jpgIMG_20210818_115210.jpgIMG_20210818_120610.jpg
 
Последнее редактирование:
Пришло
23,1 вольта идёт
На схему
Звука почти нет
Нч шуршит - просит "контакт-61"
В микрофонный вход иногда получается что-то услышать
Лампочка не горит
Посмотреть вложение 19918Посмотреть вложение 19919Посмотреть вложение 19920Посмотреть вложение 19921Посмотреть вложение 19922
Все длинные электролитические кондансаторы на плате скорее всего нужно заменить, они откровенно сохнут или высохли лет сорок тому взад. Можно правда подкидывать параллельно им живой конденсатор , с появлением звука выкусывать дохлый и паять исправный.
 
, с появлением звука выкусывать дохлый и паять исправный.
Ага звук идёт через гитарные входа
Очень тихо еле слышно
Громкость работает
Выходные п 213
За 7 минут не нагрелись
Внутри чистенько не копано.
4 гд 28 шкрябает в зазоре
 
Молочно-голубой динозаврик
В реале вполне симпатичный предмет интерьера.IMG_20210818_125729_359.jpgIMG_20210818_125729_429.jpg
 
Последнее редактирование:
Эти Аккорды, Веги и т.п. хрень НЕ берите, ничего не сообрающие в транзисторах, германиевых транзисторах, им всем по 40 и более лет, может быть все что угодно.
 
Эти Аккорды, Веги и т.п. хрень НЕ берите, ничего не сообрающие в транзисторах, германиевых транзисторах, им всем по 40 и более лет, может быть
Дело то в ом что с гитарным динамиком гитара в него очень достойно звучит
И уж песок на дисторшн на частоте 3 кГц тоже
 
Сделайте просто, мостовая на двух ИМС ТДА2003 и пр, и от 12в пит. А ставьте хоть из дерева выточенные транзисторы, еще и П213Б напишите, все одно, никто не понимает, как и вы, "очень достойно звучит"... Еще и будет и громче, и достойней.
 
Сделайте просто, мостовая на двух ИМС ТДА2003 и пр, и от 12в пит.
АВ класс тда есть
И d класс есть
А всё гитарное (примочки) на полевиках.
А гитара в германий звучит сильно заметно по-другому
и да - я не из секты бумаго- масляных конденсаторов,
которые ставили в гитарные темброблоки в 60-е.
 
Повторяю который раз, которая должна быть, Корветы, Маяки, Вильмы...
Про Аккорд и Вегу, при желании можно восстановить, лучше ор не станет, это Лин 1956г
1956_H.C.Lin_amplifier_schematic_-_The_Original_Lin.png123.png
 
Последнее редактирование модератором:
Между этими точками 9,8 вольт
На схему приходит
23,8 вольт
А где половинка питания по которой можно понять что п 213 живые непонятно как подобраться померять
Шипение есть, частотно меняется при регулировке
IMG_20210818_172150.jpg
 
Последнее редактирование модератором:

Статистика форума

Темы
3,307
Сообщения
263,564
Пользователи
2,548
Новый пользователь
Александр Н.
Назад
Сверху Снизу