Германиевые УНЧ

Рег. громкости нашел 22 ком, заменил, можно слушать нормально. На УКВ всего одна Радио Орфей 4,25 метра, и все. Звук класс!
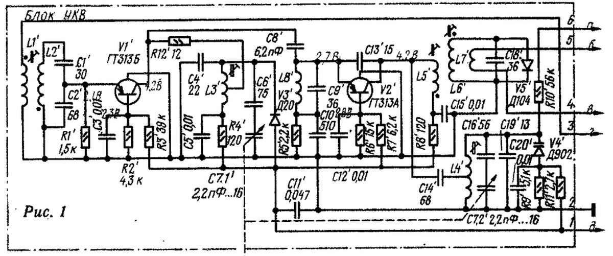
можно сделать легко конвертер...и будет вам ФМ дополнительно..
на двух транзисторах ГТ311 генератор в антенный узел ..
я в 90х годах автомагнитолы переделывал ... тогда FM был пустым...сейчас наоборот.
3-7STBqRI8k.jpg

кварцевый резонатор можно поставить на 30 мГц; в целом надо смотреть где у вас FM наиболее заполнен... что б перекрывал 65-73 на 88-108
сумматор можно вообще на одном транзисторе сделать....на трёхточке, не кварцованный...но фапч может убегать вслед за дрейфом генератора...так что кварц всё таки предпочтительней
 
Последнее редактирование:

Вложения

  • таблица.jpg
    таблица.jpg
    58.6 KB · Просмотры: 184
Океан легко перестраивается по таблице, был советский и зарубежный
конвертор делает его дву-диапазонным.. да и хлопот с перепайкой гораздо больше
 
УКВ нафиг не нужен, что там ловить? одну-две станции ненужных что ли.
С десяток кондёров проще.
 
можно сделать легко конвертер...и будет вам ФМ дополнительно..
на двух транзисторах ГТ311 генератор в антенный узел ..
я в 90х годах автомагнитолы переделывал ... тогда FM был пустым...сейчас наоборот.
Посмотреть вложение 45198
кварцевый резонатор можно поставить на 30 мГц; в целом надо смотреть где у вас FM наиболее заполнен... что б перекрывал 65-73 на 88-108
сумматор можно вообще на одном транзисторе сделать....на трёхточке, не кварцованный...но фапч может убегать вслед за дрейфом генератора...так что кварц всё таки предпочтительней
примерно такие же делал :) , потом на заказ всандаливал в магнитолы аналогичные, питание резистор+светодиод в роли стабилизатора:
 

Вложения

  • конвертор.jpg
    конвертор.jpg
    131.9 KB · Просмотры: 162
можно сделать легко конвертер...и будет вам ФМ дополнительно..
на двух транзисторах ГТ311 генератор в антенный узел ..
я в 90х годах автомагнитолы переделывал ... тогда FM был пустым...сейчас наоборот.
Посмотреть вложение 45198
кварцевый резонатор можно поставить на 30 мГц; в целом надо смотреть где у вас FM наиболее заполнен... что б перекрывал 65-73 на 88-108
сумматор можно вообще на одном транзисторе сделать....на трёхточке, не кварцованный...но фапч может убегать вслед за дрейфом генератора...так что кварц всё таки предпочтительней
По УКВ антеннам в виде рамки на окне, безумная идея дяди Саши, можете подсказать? Входы есть и 300 и 75 ом.
 
По УКВ антеннам в виде рамки на окне, безумная идея дяди Саши, можете подсказать? Входы есть и 300 и 75 ом.
да конечно... 300 идут через трансформатор симитричный вход.. витая пара... на кв диапазон обычно есть клеммы четверть волновой квадрат..
75 коаксиальный четверть или полуволновым штырём или с противовесами
 
да конечно... 300 идут через трансформатор симитричный вход.. витая пара... на кв диапазон обычно есть клеммы четверть волновой квадрат..
75 коаксиальный четверть или полуволновым штырём или с противовесами
Скажу иначе: по периметру оконной рамы ведем полоску металла,внизу питающие контакты.Размер рамки будет чуть больше нужного , 3 метра периметра для 100мгц, так вот, можно ли укорочение применить, или так пойдет.И какое примерно будет волновое .

Была дурная идея сверху и снизу рамы по диполю , соединенных скрещенной питающей линией.Но рамка проще и видимо лучше.
Есть опыт применения J антенны, там удобно очень, стоит на полу, высота 2,25 метра, сьем сигнала с точек на крюке внизу.Делал для размещения на балконе, чтобы не торчала , прием качественный.
 
Скажу иначе: по периметру оконной рамы ведем полоску металла,внизу питающие контакты.Размер рамки будет чуть больше нужного , 3 метра периметра для 100мгц, так вот, можно ли укорочение применить, или так пойдет.И какое примерно будет волновое .
Работать будет но не согласован будет квадрат.. ближе к 50 омам
Коротко замкнутым не должен быть.. несколько пикофарад на жилу коаксиального кабеля…
 
Работать будет но не согласован будет квадрат.. ближе к 50 омам
Коротко замкнутым не должен быть.. несколько пикофарад на жилу коаксиального кабеля…
Что хорошо , в тюнере есть индикатор стрелочный, уровень сигнала и индикатор настройки,S - индикатор.Удобно оценить эффективность антенны
 

Вложения

  • IMG_20220427_221923.jpg
    IMG_20220427_221923.jpg
    398.3 KB · Просмотры: 182
Была дурная идея сверху и снизу рамы по диполю , соединенных скрещенной питающей линией.Но рамка проще и видимо лучше.
Есть опыт применения J антенны, там удобно очень, стоит на полу, высота 2,25 метра, сьем сигнала с точек на крюке внизу.Делал для размещения на балконе, чтобы не торчала , прием качественный.

Если для приема радиовещания. то есть такой вариант
Посмотреть вложение 45226
Это то что надо, блеск! Спасибо!!!

Есть на базаре толстая алюминиевая фольга,самоклейка и есть флюс для пайки алюминия.потом белой краской покрыть.
 
Или из ПЭЛ-1,0 рамку по тем же размерам согнул, тоже самое
 
Или из ПЭЛ-1,0 рамку по тем же размерам согнул, тоже самое
Развиваем идею.Гнем рамку из толстого провода, медного, концы рамки продолжаем снижением с волновым 120 ом, дистанцию держим кусочками стеклолита с парой отверстий, эти сопли дотянуть до приемника , а можно посчитать и электрокабель найти с таким волновым сопротивлением.
Давно не смотрел, есть ли на рынке у антенщиков удобные платки для тв антенн, трансформатор с 300 на 75 на феррите.

Нашел в конспектах книги Ротхаммеля вариант цельнометаллической антенны, полуволновая труба или уголок, в центре- крепление и оплетка кабеля.Центральная жила двигается к краю , от средины -к некой точке согласования , там делается второй контакт.
 
Есть готовые с 300 ом на 75 .. стоит копейки
 

Вложения

  • F388CAB7-9B8D-4E68-A60F-814CA9A495EE.jpeg
    F388CAB7-9B8D-4E68-A60F-814CA9A495EE.jpeg
    170.9 KB · Просмотры: 137
  • 1FD5A18B-FC94-4B29-98B3-626AA4A52A34.png
    1FD5A18B-FC94-4B29-98B3-626AA4A52A34.png
    852.4 KB · Просмотры: 167
Про них и говорю.К польским антеннам шли.

Это то что надо, блеск! Спасибо!!!
Забавно, что метр тридцать на метр тридцать это оконная рама)))))))

Есть готовые с 300 ом на 75 .. стоит копейки
Главное удобство такой платки, к контактам платы крутим концы шлейфвибратора, к другим конец кабеля и вуаля.

Периметр оконной рамы по большому стеклу ниже форточки как раз 294 см, по средней линии, то есть те самые три метра.Все то что надо
 
Периметр оконной рамы по большому стеклу ниже форточки как раз 294 см, по средней линии, то есть те самые три метра.Все то что надо
У любого вибратора есть диаграмма направленности, учитывая что радиостанции работают в вертикальной поляризации, а телевидение в горизонтальном, то квадрат вам совершенно лишний..
Достаточно вертикальный диполь или штырь с тремя противовесами, или просто штырь.. круговая диаграмма и вертикальная поляризация.. для радио в городе оптимально
B514599E-ED0A-4B5E-821D-1E8A4326F106.jpeg 9BCC7B96-FA6A-4F99-B9AF-B8FCB938377B.jpeg 4783272A-1185-425E-A39A-7E4F9E434DB3.jpeg
 
Последнее редактирование:
Можно вообще рамку на внешнюю сторону оконной рамы закрепить,чтобы вид не портить.

У любого вибратора есть диаграмма направленности, учитывая что радиостанции работают в вертикальной поляризации, а телевидение в горизонтальном, то квадрат вам совершенно лишний..
Достаточно вертикальный диполь или штырь с тремя противовесами, или просто штырь.. круговая диаграмма и вертикальная поляризация.. для радио в городе оптимально
Спец один радист уверял насчет горизонтальной поляризации радиостанций.
 
Спец один радист уверял насчет горизонтальной поляризации радиостанций.
Да нет.. достаточно посмотреть на телевизионные антенны и на радиостанции .. поляризация в картинках
CF757162-E869-439D-8A12-BAE0B2C9D622.jpeg538E126E-F3CD-4FDC-BC86-919144ED9045.jpeg

7F950F0D-9910-40F0-B35C-F24ACD64407F.jpeg
Тут по сути штырь свернутый в квадрат что невилирует отражения в городских застройках и для уменьшения размеров конструкции.. но тут и не 300 ом
Это без согласующих линий и не вибратор
 
Спец один радист уверял насчет горизонтальной поляризации радиостанций.

Посмотреть вложение 45240
Тут по сути штырь свернутый в квадрат что невилирует отражения в городских застройках и для уменьшения размеров конструкции.. но тут и не 300 ом
Это без согласующих линий и не вибратор
Бред , схема из Радио правильная в отличие от этой фигни.
 
Бред , схема из Радио правильная в отличие от этой фигни.
В свч диапазоне согласование важно для передающих устройсв…. Так как стоячая волна может пережечь кабель.. для укв и приемников это вообще не такая уж проблема, в условиях города и близости передающих центров ловит на кусок провода ( все радиоприемники телескопической антенной снабжены для укв, магнитная антена для низжих диапазонов КВ,СВ требуют ещё азимута в настройке ) в любой точке помещения.. так что не стоит того эти хлопоты с квадратами
 
В свч диапазоне согласование важно для передающих устройсв…. Так как стоячая волна может пережечь кабель.. для укв и приемников это вообще не такая уж проблема, в условиях города и близости передающих центров ловит на кусок провода ( все радиоприемники телескопической антенной снабжены для укв, магнитная антена для низжих диапазонов КВ,СВ требуют ещё азимута в настройке ) в любой точке помещения.. так что не стоит того эти хлопоты с квадратами
В бетонном доме ловля укв не такое уж простое занятие и лучше всего работал шлейф вибратор, полноразмерный.

А вообще, на рынке есть готовая удобная антенна для укв радио, петлевой вибратор ,согнутый в бублик.Найду и заберу , без возни.

У любого вибратора есть диаграмма направленности, учитывая что радиостанции работают в вертикальной поляризации, а телевидение в горизонтальном, то квадрат вам совершенно лишний..
Достаточно вертикальный диполь или штырь с тремя противовесами, или просто штырь.. круговая диаграмма и вертикальная поляризация.. для радио в городе оптимально
Посмотреть вложение 45235 Посмотреть вложение 45236 Посмотреть вложение 45237
С черте каких времен пытаюсь получить ответ на вопрос, какая поляризация у укв радиостанций.Ответы специалистов строго полярные.Лишь однажды вскользь упомянули о комбинированной ,как более реальной в условиях высотной застройки.Остается добавить про отсебятину бетонной арматуры, работающей рефлектором и меняющей тую поляризацию как ей хочется.Помню, удивлялся росту стгнала комнатной ДМВ антенны у батареи отопления.
 
Сань, а на ГТ703В что-то путное может получиться?
 
С черте каких времен пытаюсь получить ответ на вопрос, какая поляризация у укв радиостанций
Поляризация у всех разная, у кого вертикальная, у кого горизонтальная, у кого круговая. Так что единообразия нет. Вся информация по мощности, расположению передатчиков, высоте подвеса антенн и поляризации давно доступна в инете.
Поляризация на УКВ в городе вообще не актуальна. В городских условиях ослабление сигнала обычно составляет 5..15 dB за счет приема отраженных от окружающих предметов волн. Поляризация актуальна только для дальнего приема коэффициент ослабления в случае, когда поляризация принимаемой волны и приемной антенны не совпадают, зависит от угла между ними: Kpolar=-20 Log (sin a). Теоретически при a=90 гр. затухание стремится к бесконечности, на практике оно достигает 20 dB.
 
ГТ705Д К-Э всего 20в., а с индексом Г 30в. В готовую конструкцию пока руки не доходят собрать, но на столе в макете гораздее П213-17
Т.н. схема цихисели (703Г-705Г), только напряжение выставлял до 30в.
 
Сань, а на ГТ703В что-то путное может получиться?
Саша, они шикарные,просто баламуты записали их в особо низкочпстотные, обозначив предельную частоту усиления в 10 килогерц, когда сраные П4 заявлены до 100 кил, но с общей базой, где любая замухрышка принцесса.А у 703 и 705 дана частота в схеме с ОЭ, где П 213 -215 работают не выше 2500 Гц.Хотя по справочнику те же 100 кгц.

ГТ705Д К-Э всего 20в., а с индексом Г 30в. В готовую конструкцию пока руки не доходят собрать, но на столе в макете гораздее П213-17
Т.н. схема цихисели (703Г-705Г), только напряжение выставлял до 30в.
1Т910 заявлены как 28 в предельного кэ, а в реале 40 в спокойно.
 
Саша, они шикарные,просто баламуты записали их в особо низкочпстотные, обозначив предельную частоту усиления в 10 килогерц, когда сраные П4 заявлены до 100 кил, но с общей базой, где любая замухрышка принцесса.А у 703 и 705 дана частота в схеме с ОЭ, где П 213 -215 работают не выше 2500 Гц.Хотя по справочнику те же 100 кгц.
ГТ403 8кГц, и тоже с ОЭ.
 
Саша, они шикарные,просто баламуты записали их в особо низкочпстотные, обозначив предельную частоту усиления в 10 килогерц, когда сраные П4 заявлены до 100 кил, но с общей базой, где любая замухрышка принцесса.А у 703 и 705 дана частота в схеме с ОЭ, где П 213 -215 работают не выше 2500 Гц.Хотя по справочнику те же 100 кгц.
:) хоть все не выбрасывай..и 502/503 дерьмо..и П4 "сраные"..пошел пеплом посыпаться..
 

Вложения

  • IMG_20221008_194923.jpg
    IMG_20221008_194923.jpg
    242.9 KB · Просмотры: 167
  • IMG_20221014_174956.jpg
    IMG_20221014_174956.jpg
    173.7 KB · Просмотры: 169

Статистика форума

Темы
3,306
Сообщения
263,406
Пользователи
2,548
Новый пользователь
Александр Н.
Назад
Сверху Снизу