Транзисторные винил-корректоры

Такая же история, с первой зарплаты купил Аккорд-стерео за 99 руб, потом в комиссионке Б1-01, голова попиленная, а АДС-К9 выпросил у друга
 
Сделал на 538ун1 еще другу еще на г-600, послушали, фона не слышно, но так себе, АДС-К9 обоим не понравилась. Следующий шаг 544уд1, эта сразу и он, и я, наш звук это все. И валяется с тех пор.
На 548ун1(538УН1 то же самое. но в одиночном варианте ) пытался делать корректоры не раз, возвращаясь к теме уже на новом уровне знаний и опыта, но схема как заколдованная продолжала играть вместо музыки какую-то плоскую лажу . Тупик. зато очень неплохо звучала в инвертирующем включении в усилителе записи магнитофона.
 
Повторял RIAA-корректор на К548УН1, подробностей не помню уже, давно было дело. На тонарме-конструкторе "Старт" и ГЗМ Mf-100.

Кажется, для К548УН1 было предложение нагружать выход источником тока, якобы, искажений становится меньше.
 
Сдается мне, что 538 скомпенсирована на усиление 200 и самые лучшие параметры при этом получаются, попробую поставить штатно и 10х делитель на выход. В полной схеме как раз будет фильтр после нее.
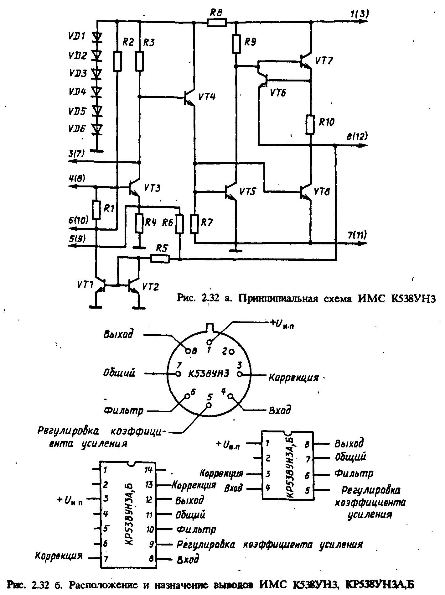
5-й вывод 538УН3 - вывод для коррекции усиления (R4 и R5 микросхемы задают усиление), подбором внешнего резистора между выводами 5 и 8 можно уменьшить усиление до нужного уровня
538.jpg538_.jpg
 
Промерил 8 шт. у 538 сопротивление между ножками 5 и 7 от 40 до 42 Ом и между 5 и 8 10к до 11,5 к. разброд и шатание.
Идея такая: подать на них напряжение и выжечь напрочь, поставить внешние металлические и точные резисторы для установки коэффициента усиления, тогда можно будет и про параллель подумать.

Так подарили жменьку черных таракашек, золотых для понтов оставлю, а эти повыжигаю. Нужно ребенка спросить, он там в процессорах чет выжигал лишнее для разгона.
Не гибридка, выжечь не получится, сразу аут, в корзину
Там металл напыляют по маске, дорогие микросхемы потом подгоняют лазером, а тут и так сойдет.
Ну по крайней мере можно внешними резисторами подобрать сопротивления, надеюсь, они потом не уплывут, надо будет таки одному золотому башку отпилить, глянуть чего там за сопротивление.
Приехали 797. вроде оригинал, спаяю усилитель на 16,5, если зашумит - расколю, у меня разговор короткий :)

Примерная табличка оптимальной нагрузки м\схем с биполярным входом. Новые м\схемы можно самим добавлять.
Шум ОУ.jpg
Интересно, где тут будет К538УН3
 
Примерно в 2 раза выше AD797, у неё 2,1nV/корень(Hz) типовое при источнике 500 Ом
 
Повторял RIAA-корректор на К548УН1, подробностей не помню уже, давно было дело. На тонарме-конструкторе "Старт" и ГЗМ Mf-100.

Кажется, для К548УН1 было предложение нагружать выход источником тока, якобы, искажений становится меньше.
Там вроде сотые доли процента по даташиту, я на слух не замечаю. Играет уж точно не хуже компакт диска по моему.
Какие искажения конкретно в цифрах можете обьяснить?
 
Не помню уже.
Может быть вовсе и не в К548УН1 было дело, а в ГЗМ Mf-100.
Но, кажется, в "Радио" была предложена доработка с источником тока на выходе микросхемы...
Последние опыты с К548УН1 были зимой 2017 года, звука так и не добыто.
 
Последние опыты с К548УН1 были зимой 2017 года, звука так и не добыто.
В моём случае это было много-много раньше, и я уже успел отказаться от корректора на К548УН1 (спаяв Сухова-Байло), но через сколько-то лет в журнале "Радио" наткнулся на статью (или письмо читателя) с такой доработкой.

Попробую пролистать архив журнала.
 
В моём случае это было много-много раньше, и я уже успел отказаться от корректора на К548УН1 (спаяв Сухова-Байло), но через сколько-то лет в журнале "Радио" наткнулся на статью (или письмо читателя) с такой доработкой.

Попробую пролистать архив журнала.
Году в 1985 примерно, купив книжку болгарина Славчо Малякова про виниловые корректоры и грамзапись, на базе К548УН1 сочинил схему свою, с коррекцией на входном сопротивлении, в инвертирующем включении 548й, под ММ головку Ортофон VMS20 . Сделал запись на ленту и потом много раз , слушая ее, удивлялся красивому естественному звучанию.
А совсем уж недавно по совету великого Трошкина спаял, измерил и отслушал давнюю схемку TVV47 от Dual. С мелким макияжем получилась сказка. Этот , как сказал Никита, сторублевый вариант, крепко порадовал звуком.
 
Последнее редактирование:
Промерил 8 шт. у 538 сопротивление между ножками 5 и 7 от 40 до 42 Ом и между 5 и 8 10к до 11,5 к. разброд и шатание.
Что, 5-15% внутри негибридной непрецизионной микросхемы вносят разброд и шатание?! Ну разве что в слишком прямые извилины...
 
Что, 5-15% внутри негибридной непрецизионной микросхемы вносят разброд и шатание?! Ну разве что в слишком прямые извилины...
Они не позволяют организовать нормальную параллельную работу ОУ.
 
Если ограничиться усилением каждой микросхемы 10-15, то разница нивелируется - 1 кОм снаружи как у АБ.
 
По мне, куда проще отобрать малошумящую пару 538-х в пластике, чем параллелить абы что с тем же или худшим результатом.
 
Я то по старой привычке, с прицелом на массовое производство.
Беда печаль тут случилась, спаял на свежеприсланных и, похоже, оригинальных, 797 для начала инверт с 10 Ом нагрузки, послушал, тихо играет, но и шумов совсем не слышно, потом перделал на неинверт со 100 Ом нагрузки, но послушать не удалось, при подключении по запарке перепутал + и -, чего уже лет 30 не случалось. Из микросхем вышел тот волшебный дымок, на котором они работают и все стихло. Пойду сеять литопсы.

зы, пробовал на 538 навесить с 5 ноги на землю 10 Ом и на выход 200, послушал, пока не понял, но играет интересно, песок вроде меньше слышно.
 
Я то по старой привычке, с прицелом на массовое производство.
Беда печаль тут случилась, спаял на свежеприсланных и, похоже, оригинальных, 797 для начала инверт с 10 Ом нагрузки, послушал, тихо играет, но и шумов совсем не слышно, потом перделал на неинверт со 100 Ом нагрузки, но послушать не удалось, при подключении по запарке перепутал + и -, чего уже лет 30 не случалось. Из микросхем вышел тот волшебный дымок, на котором они работают и все стихло. Пойду сеять литопсы.

зы, пробовал на 538 навесить с 5 ноги на землю 10 Ом и на выход 200, послушал, пока не понял, но играет интересно, песок вроде меньше слышно.
Сперва макетить надо с такими резисторами внешними, 200 Ом, такая нагрузка микросхеме может не понравиться , сильно.
 
Я то по старой привычке, с прицелом на массовое производство.
Беда печаль тут случилась, спаял на свежеприсланных и, похоже, оригинальных, 797 для начала инверт с 10 Ом нагрузки, послушал, тихо играет, но и шумов совсем не слышно, потом перделал на неинверт со 100 Ом нагрузки, но послушать не удалось, при подключении по запарке перепутал + и -, чего уже лет 30 не случалось. Из микросхем вышел тот волшебный дымок, на котором они работают и все стихло. Пойду сеять литопсы.

зы, пробовал на 538 навесить с 5 ноги на землю 10 Ом и на выход 200, послушал, пока не понял, но играет интересно, песок вроде меньше слышно.
Разделю вашу печать по утраченной микросхеме. Обычно макечу с питанием на стабилитронах типа КС515, не удалось упалить микросхемки , хотя всякое бывало включая ошибочную распайку. И когда увидел, что в схеме моего корректора на операх , повторенной на одном известном форуме, туда вкрячили мощные КРЕНки на 15 вольт, зашел на форум и спросил: А скажи, мил.человек, зачем ты вместо стабилитронов впаял КРЕНКИ?
-Ну......чтоб мощнее было. Мощнее- что? Ну....питание. -А зачем? Ну, чтобы запас , на случай перегрузки. И прочая чушня.
 
Наказан за свою забывчивость, был в лабазе и забыл купить приличный разъем 3х пиновый, питание втыкать-вытыкать, а перед тем как паять вспомнил, что разъем забыл, подумал, можно таки XLR припаять папу-маму, но поленился, вот и результат. И в ЧиД все выкупил, осталась одна дешевая, ну раз в процессе такие косяки, то просто обязано получиться отлично. Пойду погуляю и поищу жестяных банок из под чая под корпуса, таки ловит помехи плата, нужно сделать хорошо.
 
Самое лучшее сразу поставить нормальный разьём на питание, которые для этого выпускаются.
Сегодня копейки они стоят. Практически на любой ток и есно разных размеров.
Я применяю для бол\мен больших токов с шагом 3,96мм, для малых 2,54мм (они более компактные).
Клещей нет специальных у меня под них и покупать в мыслях нет. Обхожусь маленькими кусачками и пайкой.
PWL-3.jpg

Сегодня это не проблема, предложение превышает потребности аматора.
НО! Это хорошо в готовой конструкции. При наладке и экспериментах от лабораторного блока всегда делаю:
+ красный, - синий, земля черная.
Без вариантов.

И прочая чушня.
Уже проверено и признано, что для конструкций где необходимо чистое питание ставим LM317 или 337. Они фильтруют сигнал лучше чем кренки на фиксированное напряжение и стабилитроны. Дороже, но овчинка стоит выделки:
-разные корпуса и габариты
-любое напряжение стабилизации
-защита по току и температуре.
-минимальные пульсации на выходе
За эти плюшки можно и немного переплатить. Не серию делаем но потоке, где каждая копейка важна на выхлопе.
 
Последнее редактирование:
Уже проверено и признано, что для конструкций где необходимо чистое питание ставим LM317 или 337. Они фильтруют сигнал лучше чем кренки на фиксированное напряжение и стабилитроны. Дороже, но овчинка стоит выделки:
-разные корпуса и габариты
-любое напряжение стабилизации
-защита по току и температуре.
-минимальные пульсации на выходе
За эти плюшки можно и немного переплатить. Не серию делаем но потоке, где каждая копейка важна на выхлопе.
да, и 317 и 337 не шумят ВООПЩЕ. В отличие от ужаса на выходе обычных "трехногих "
 
да, и 317 и 337 не шумят ВООПЩЕ.
Есть у меня цифры полученные в ходе проверки, найду выложу. Крайне малые.... микровольты. Сравнивал с авторитетным источником, запятую правильно получил. Но в стабилизаторе кроме м\с ещё есть и пассивные компоненты, их влияние точно определить конечно выше моих возможностей.
Не шумит только труп.
 
У Назара были схемы 317 + 2 или 3 транзистора, лучший стабилизатор.

Пока ищу 797, собираю еще плату на 538, с 10 + 200 Ом делитель усиления, нужно придумать приспособление для быстрого переключения схем, пока перетыкаешь успеваешь забыть, разница то еле заметная и пластинка уезжает с того места. На золотых 538 радио поборол, пришлось на вход 470 пик поставить в землю, теперь читый шум, можно релаксировать.
 
Да, чет я туплю по поводу шума сопротивлений, если взять одинаковых 2 резистора, соединить параллельно, то шум будет квадратично вычитаться, он не коорелированный же, если взять резистор с номиналом в 2 раза меньше тех двух, то у кого шум будет меньше?
 
Маялся с МС трансформаторами, фон. Пришлось по науке, полностью переделать первичку под балансное соединение, теперь тишина. Звук так себе, а может с устатку так кажется.
ef70dcd20f442750329c6f3a76c6bed3.jpg
 

Статистика форума

Темы
3,305
Сообщения
263,146
Пользователи
2,544
Новый пользователь
vlad'mir
Назад
Сверху Снизу