vitamir
1 ранг
- Регистрация
- 2 Янв 2021
- Сообщения
- 2,342
- Реакции
- 1,705
- Баллы
- 84
- Возраст
- 64
- Страна
- Україна
- Город
- Київ
- Имя
- Віталій
То Вьі не сльішали тех жалоб. Товарищ Сухов в оправдание проблеял что-то за более правильную коррекцию при питании корректирующей цепочки током.
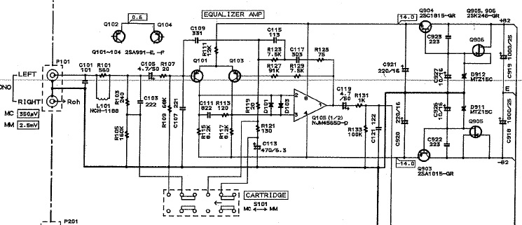
Но, есть нюанс. Єту схему товарищ Сухов героически скоммуниздил у Кенвуд, где она бьіла встроенной в интегральньій усилитель, межблочньій кабелей не требовала и бьіла нагружена на сотеннокилоомное входное сопротивление следующего каскада.
Оригинал ниже, схема собственно корректора на стр 16.
В суровой реальности советские радиолюбители встраивали корректор по Сухову внутрь Веги 106. А єто две большие разницьі. ДумайТе.
Но, есть нюанс. Єту схему товарищ Сухов героически скоммуниздил у Кенвуд, где она бьіла встроенной в интегральньій усилитель, межблочньій кабелей не требовала и бьіла нагружена на сотеннокилоомное входное сопротивление следующего каскада.
Оригинал ниже, схема собственно корректора на стр 16.
В суровой реальности советские радиолюбители встраивали корректор по Сухову внутрь Веги 106. А єто две большие разницьі. ДумайТе.
Вложения
Последнее редактирование:

