Германиевые УНЧ

в «А» загоняют говнотехники, подачу ровную на плечи обеспечить не могут по постоянному току/напряжению.
Стаб здесь ни какого отношения не имеет
ТП выхода нужно делать таким, что бы исчезла ступенька на частотах 7- 10 кГц, а это может быть и 100 и 250 мА, и больше, и это уже лёгкий А
Это ещё Букварев говорил
А он Практик с большой буквы
И ему я верю, в отличии от вас
 
Ч
ТП выхода нужно делать таким
Чтоб он был и не зависел от кривой подачи на плечи. Все, ТОЧКА.
Если подача перекошена, ТП увеличивают, чтоб на постоянном токе триод открылся.
Поэтому дядька Бокарев 2Т903 не применяет, лучший триод «готовить не умеет»
 
Стабилизация смещения в УН с помощью "стабилитрона" ( транзисторы + обвес, диоды, стабилитрон), нужна только лишь для задания ТП выхода
Термостабилизация ТП с помощью такого смещения, это второстепенная задача, в довесок
Главное - держать стабильность смещения, а будет увеличиваться ТП на выходе или нет, это уже можно решать разными способами, и решение с помощью самого смещения в УН, простейшее, изящное и рабочее
Потому и прижилось
Но! Стабилизация ТП для УН, это другое
Стабильность ТП в УН зависит только от постоянства U б- э, и если напряжение питания меняется, то U б- э, тоже меняется, а значит меняется ТП УН.
И если в смещении стоит " стабилитрон", то вооьщем, такие небольшие колебания ТП УН, без разницы,... но! если там стоит обычный резистор ( как у меня ), то изменения ТП УН, вызывают изменения напряжения на резисторе, то есть ТП выхода начинает плыть
Но я пока не хочу отказываться от резистора в смещении УН (вместо "стабилитрона"), меня это устраивает, там есть свои плюсы, поэтому мне нужно решить проблему, именно со стабилизацией ТП УН
В этом специфика

Чтоб он был и не зависел от кривой подачи на плечи.
Если подача перекошена
Не знаю что по -вашему это значит, но вообщем и целом согласен, я думаю - надо вести плечи независимо друг от друга от самого входа - до сумматора выхода, об этом я давно говорил и даже пробовал в железе и в симе
По идее, такое независимое прохождение сигнала по плечам, от входа до сумматора, должно улучшить спектр
В железе вроде как получше звучит, в симе, пока непонятно такое потенциальное улучшение
Может сегодня попробую ещё раз, собрать такую модель и посмотреть
Возможно в прошлый раз я что то упустил
 
Последнее редактирование:
слишком много внимания к усилителю ,достаточно иметь ИМД меньше 0,05% дальше не слышно разницы и иметь запас по мощности раз в 5 те слушать на 0,2 максимальной,тогда и спектр хороший и до клипа далеко
у моего 4*40вт,а слушаю на 1...3вт максимум,дальше соседи стучат
самое противное это когда колонки и комната мычат на 80,,,,100гц вот это надо лечить в первую очередь а не за нуликами гоняться
10мас -1 вообще мычат как корова им нужно -3ома выходное,надо пос вводить до 100гц
 
Последнее редактирование:
слишком много внимания к усилителю ,достаточно иметь ИМД меньше 0,05% дальше не слышно разницы и иметь запас по мощности раз в 5 те слушать на 0,2 максимальной,тогда и спектр хороший и до клипа далеко
у моего 40вт,а слушаю на 1...3вт максимум,дальше соседи стучат
Пік-фактор сучасних музичних консервів сягає 10 за напругою сигналу.
Нормальні люди слухають при 82 dB SPL у кожне вухо середнього рівня музконсерви.
Далі лише арифметика. smile_15
 
Пік-фактор сучасних музичних консервів сягає 10 за напругою сигналу.
тогда 100 раз по мощности согласен,я имел таки ввиду уровень 0,2 это 5 по напряжению или 25 по мощности,но это для однополоски
для вчсч при биампинге меньше можно
при малой мощности спектр на много лучше и чем ближе к клипу тем он хуже,поэтому чувствительные динамики это очень хорошо всегда
 
Последнее редактирование:
Надыбал вроде неплохие транзюки по справочнику до 500кгц. с об., но всего три штуки... ни туда ни сюда. Эх.smile_35
 

Вложения

  • 20260110_195238.jpg
    20260110_195238.jpg
    316.4 KB · Просмотры: 103
  • 20260110_195248.jpg
    20260110_195248.jpg
    346 KB · Просмотры: 97
Последнее редактирование:
Вот сделал каркасы-самое сложное имхо,начну мотать
Стеклотекстолит отличная штука для каркасов.
Но у представленных провод будет царапаться о клеммники.
Прикройте их при намотке хотя бы скотчем.
Предпочитаю лепестки с заклепкой. Ее изнутри каркаса можно выгладить до полированности.
Из обрезков, а они всегда будут, можно поставить ребра жесткости. Тогда можно даже уменьшить толщину каркаса, подняв Кок.
В исходнике был картон толщиной 1 мм. Стеклотекстолит применен 0,7 мм. Расширение каркаса на 0,6 мм вроде бы как небольшое, но в сочетании с другими мерами позволило поднять Кок за 36%.
Хотя проклпдки на каждый слой, и межобмоточная потолще.
IMG_20250202_130648_248.jpg IMG_20250202_130710_507.jpg IMG_20250202_130702_673.jpg IMG_20250202_185223_969.jpg

тогда 100 раз по мощности согласен,я имел таки ввиду уровень 0,2 это 5 по напряжению или 25 по мощности,но это для однополоски
для вчсч при биампинге меньше можно
при малой мощности спектр на много лучше и чем ближе к клипу тем он хуже,поэтому чувствительные динамики это очень хорошо всегда
Еще лучше побороться за плавный клиппинг. Тогда можно средний уровень поднять в разы, без потери качества звука.

Я, правда, не уверен в выживаемости всякого германия на меандре :)...
Всякий биполярный кремний тоже мало выживаем, при сквозном токе.
Появление которого зависит от схемы. В некоторых схемах усилителей в ВК его вообще не наблюдается.
 
Последнее редактирование:
Последнее редактирование:
собрать канал для сабвуфера на 2х и один зип
 

Вложения

  • 2N2079M TK580040.jpg
    2N2079M TK580040.jpg
    52.9 KB · Просмотры: 96
  • 2N2079M TK580040 2.jpg
    2N2079M TK580040 2.jpg
    48.1 KB · Просмотры: 88
  • TK580040.JPG
    TK580040.JPG
    328.6 KB · Просмотры: 89
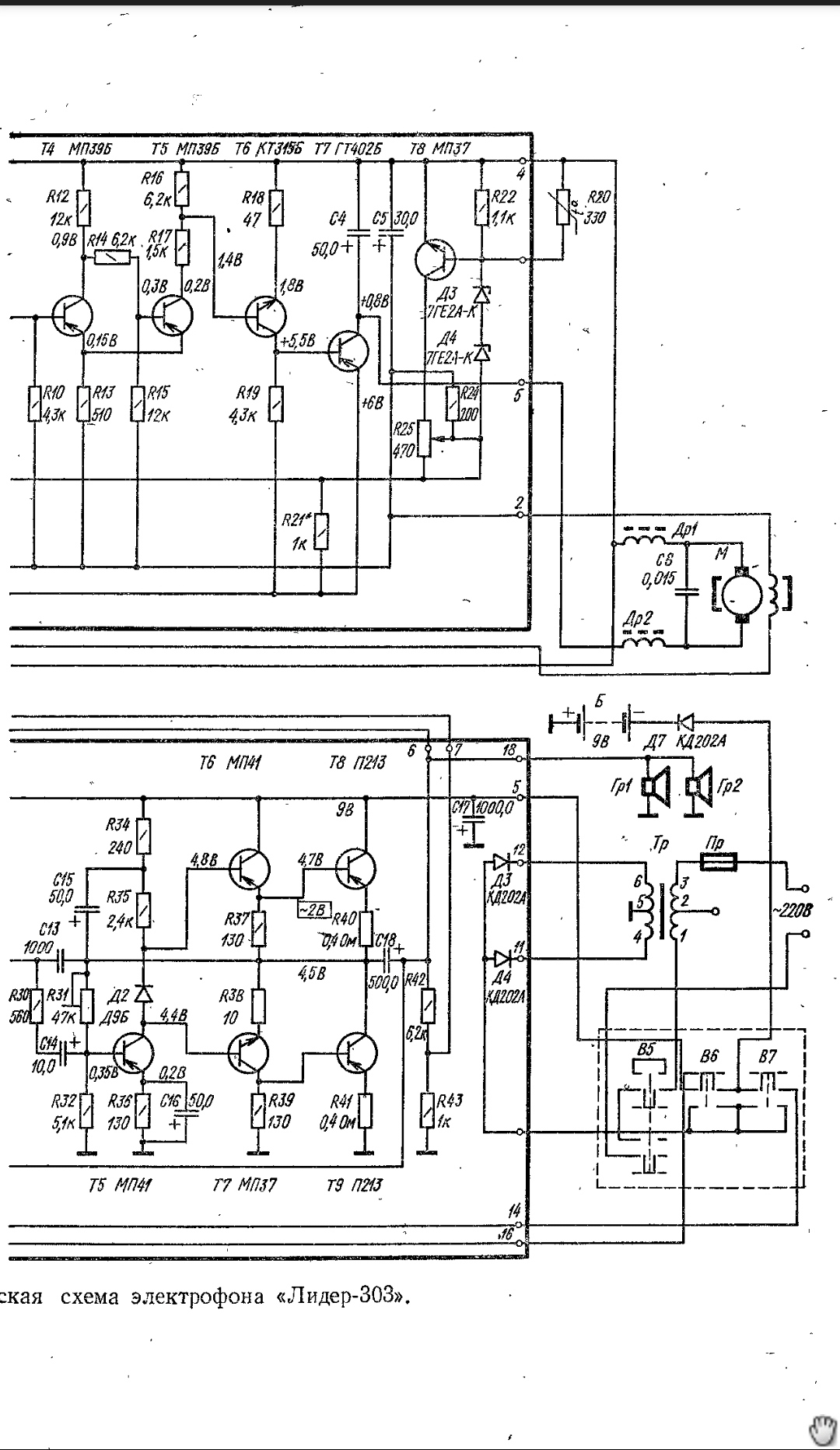
Выкорчевал из поливокса это чудо
Работает
Кто узнает откуда?IMG_20260111_125952.jpg

Моно с родными потенциометрами прямо на плате
Родной выпрямитель.
1974й год по деталям
 
Благодарю
Получается у меня схема без кремния
И гт 402
Вместо него мп37 стоит

IMG_20260111_155005.jpgIMG_20260111_155100.jpg

А динамики на схеме если объединены и отдельно минуса это получается параллельное соединение? то есть там две штуки восьмионных 1гд-40 включены на 4 ома?
Или я ошибаюсь?
 
МП39Б нормировался по шумам. Вполне законно поставлен в первые каскады.
 
Концертный 304 у меня совсем гетинакс где то умер или кондер сдох - фонит
А над этой схемой я бы поиздевался
Отстроить бы половину питания
И КУ покрутить с обвалом АЧХ
Послушать что будет ( где этот резистор?)
Если будет обычный гитарный фузз то нафиг
А еще если по входу будет лёгкий перегруз красивый, то тоже интересно

Вру, верхняя часть схемы где гт402
Это не унч
 
Надыбал вроде неплохие транзюки по справочнику до 500кгц. с об., но всего три штуки... ни туда ни сюда. Эх.smile_35
с ОБ до 500 кил. делим на бету 100, получи свои 5 килогерц в ОЭ, хуже чем у П214 - и ни в чем себе не отказывай.

МП39Б нормировался по шумам. Вполне законно поставлен в первые каскады.
А тогда что такое П13, военка, если МП 39 -бытовуха- нормирован по шумам?
 
Наверное, он аналог военного. Надо смотреть справочник.
 
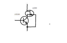
И вообще, слишком низкочастотный германий надо применять в каскодном включении. Тогда с частотами будет не так уж и печально. Или с более-менее глубокими местными оос.
 
в каскоде хорош гт311И бэта до 300 +кп 303 очень простой выходит без цепей смещения
 

Вложения

  • каскод.png
    каскод.png
    7 KB · Просмотры: 48
Плюсы такого решения - высокая термостабильность связки ГТ+КП, использование бетистого высоколинейного, но низковольтного n-p-n германия. Кроме того, пробойное напряжение КП303 как минимум удваивается. Ну и высокая общая линейность такого каскода.
Единственно что понадобится небольшой резистор местной оос в эмиттере.
 
Последнее редактирование:
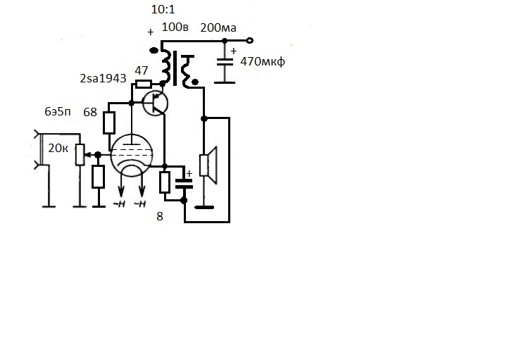
А почему никто не думал в сторону однотактов? Можно с трансформатором или дросселем
 

Вложения

  • i (21).jpeg
    i (21).jpeg
    24.9 KB · Просмотры: 92
  • 2ye1nj6cyh (1).png
    2ye1nj6cyh (1).png
    266.8 KB · Просмотры: 101
думали
 

Вложения

  • простой гибрид.jpg
    простой гибрид.jpg
    35.3 KB · Просмотры: 93
У германия преимущество именно в двухтактных схемах, на всеми другими типами транзисторов.
 

Статистика форума

Темы
3,315
Сообщения
264,703
Пользователи
2,551
Новый пользователь
Dmaren55
Назад
Сверху Снизу