Александр Бокарёв
1 ранг
- Регистрация
- 12 Ноя 2019
- Сообщения
- 30,286
- Реакции
- 15,376
- Баллы
- 395
Звучание редкое по своей пакости.
Смотрите видео ниже, чтобы узнать, как установить наш сайт в качестве веб-приложения на домашнем экране.
Примечание: Эта возможность может быть недоступна в некоторых браузерах.
Так именно пакость и разыскивается. Судя по всяческим концертным и уралам-авто.Звучание редкое по своей пакости.
Добавьте в список его пороков громыхаюший механизм, чудовище стучащее. Зато- на стенке висит, места не просит.Так именно пакость и разыскивается. Судя по всяческим концертным и уралам-авто.
201-го "Юпитера" не слышал, а вот 202-й, как он мне запомнился, можно прямо-таки в граните отлить в учебниках, как эталонную иллюстрацию к главам о "транзисторном звучании" и динамических искажениях.
Механику пока оставим в покое. Она тогда почти у всего 2-го класса была практически одинаково унифицированно-пакостная. У "Юпитера" хотя бы перемотка более-менее работала, в "Маяках" почему-то дохла быстрее.Добавьте в список его пороков громыхаюший механизм, чудовище стучащее. Зато- на стенке висит, места не просит.
Ну, не знаю, как еще без наукообразностей с одной стороны, и без мата с другой, назвать этот ядовитый шипящий свист на том месте, где у здорового человека должны быть высокие.О "транзисторном звучании" и динамических искажениях, до сих пор талдычат. С какого перепуга взялось... с бужуазного новизма, мы их задавим, и силой, где технологией слабо...
Пасики у маяка тянулись раньше юпитерских. Но в Ростове от Ростова пасики годились на Маяк , механика один в один, маяковская.Механику пока оставим в покое. Она тогда почти у всего 2-го класса была практически одинаково унифицированно-пакостная. У "Юпитера" хотя бы перемотка более-менее работала, в "Маяках" почему-то дохла быстрее.
Сети постоянного тока создавали помех не меньше сетей переменного тока, ибо постоянный ток был пульсирующий.Так он сам у тебя как трактор на поле.
Таки Эдисон прав был, в войне токов. Ай да Томас, ай да Альва.
Многофазные выпрямители его в любом учебнике.Ларионов- фамилия на слуху, видел недавно....
Так ведь сначала появились электросети. Потом - беспроволочный телеграф, а еще позже - беспроволочный же телефон. И только в ходе решения возникающих с ними проблем рождались представления об электромагнитной совместимости. До появления радиосвязи об этих вопросах просто не задумывались, ввиду отсутствия потребности. Сейчас, с массовым переходом от аналоговой техники к цифровой, засильем импульсных ИП, а также сворачиванием АМ-вещания, снова регресс происходит. Диапазон от десятков кГц до единиц МГц в городах загажен помехами насмерть.Сети постоянного тока создавали помех не меньше сетей переменного тока, ибо постоянный ток был пульсирующий.
Исключительно исходя из принципа КПД в пересчёте на питание 12 вольтТак именно пакость и разыскивается. Судя по всяческим концертным и уралам-авто.
Урал авто 2 написано12в - 1,5вт мах
Нет там номинал написано 2 Вт в автомобильно режимеНаписать то можно, режим В с отсечкой, к.н.и. больше 10%, а вам НАДО?

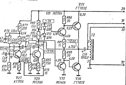
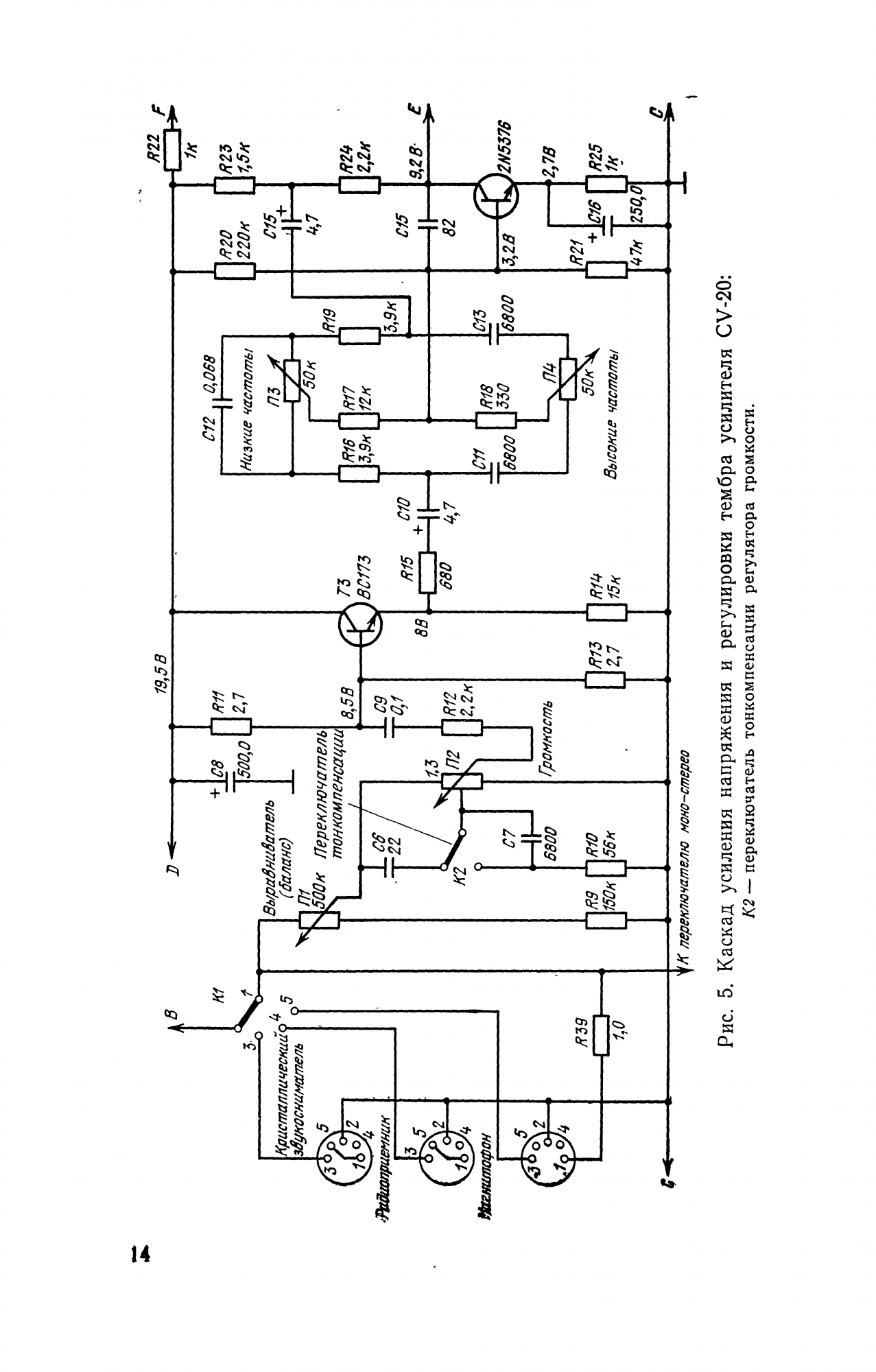
Корректор из CV20 -первая , точнее, вторая схема , которой пытался улучшить звучание дрянной ADC K9 . Не помогло, да и в схеме ошибка, резистор R7 не шунтирован емкостью, усиление без ООС мизерное.Можно по теме, а...?
Случайно нашел http://publ.lib.ru/ARCHIVES/S/''Sovetsko-vengerskaya_biblioteka_po_radioelektronike''/Chabai_D._Novinki_v_elektroakustike_.(1977).[djv-fax].zip
Была раньше одной из моих настольных книжек... Конечно, есть очепятки
Тут всюду убиваются за эти АД161-162, а у вас дармовые да ещё в работающем устройстве.вспомнил что у меня есть автомобильный приемник Videoton, достал его, разобрал, там двухтактный выходной каскад на германии АD 161, AD 162, питание 12-14 вольт, подал на вход сигнал, по качеству звука не уступает tpa 3116d2, но вывод сделать сложно, т.к приемник моно, хотелось бы в стерео режиме послушать(нужно ещё один приемник найти). В юности был аккорд стерео, я его распотрошил, теперь жалею, эх)))). Кстати выходной каскад очень похож на схему из сообщения выше, только четыре транзистора а не пять