Германиевые УНЧ

И мой стандарт тоже
 

Вложения

  • IMG_1799.jpg
    IMG_1799.jpg
    180.5 KB · Просмотры: 372
и что интересно приёмник 76 года, а электролиты не высохли, импортные
стоят
 
Жаль курочить такой экземпляр. Даже ради хороших и редких транзисторов. Чисто технически, конечно, он ничем не примечателен. Однако же, раритет-с. Альтернативой ему в те годы был А-370. Кстати, до боли знакомая там схема УЗЧ.
shema-a370_нч.jpg
 
Последнее редактирование:
Был такой в ВАЗ-2102, все на германии
 
Кстати, по крайней схеме (А-370). Случайно обратил внимание, что по заводской схеме у него на выходе почему-то 4,6 В при питании 13,2. И нету у меня никаких мыслей по этому поводу - с чего бы оно так? Увидели, что с прогревом поднимается, и оставили запас, что ли? Или партия приказала ни в коем разе не превысить ГОСТовские 2 Вт по выходной мощности для 3-го класса?
 
Последнее редактирование:
Саша, корректор CV20
 

Вложения

  • Новинки в электроакустике и технике магнитной звукозаписи Д.Чабаи 1977-600M_014.png
    Новинки в электроакустике и технике магнитной звукозаписи Д.Чабаи 1977-600M_014.png
    1.1 MB · Просмотры: 358
Чтоб понятно по корректору CV20, взять даже корр для Аккорд-101, очень похожий, на вых. транзисторе МП40 в эмиттере резистор и ЕМКОСТЬ.
 
Дайна на 605 х тоже какашка?
Screenshot_2021-04-24-13-07-42-759_com.meltingsource.DocsViewer.png
 
В Дайну глупо ставить п605, с таким успехом работали п213-215, но никогда не вылетали, что я и делал...
 
Интересно , кто-нибудь видел вживую ГТ 804, на которых Колосов спаял свой 10-ваттник , напечатанный в Радиве.
 
Только на картинке у Колосова, и усё...
 
Наверное, шли в изделие, вот и усилитель сложился. Прочим читателям оставалось облизываться.
Либо искать данные транзисторы в каталоге Посылторга , Авиамоторная 50. безуспешно)))
 
Вспомнил, еще в схемах Сергея Давидовича Батя
Хотели даже по оборонке заказать, облом...
 
достал его, разобрал, там двухтактный выходной каскад на германии АD 161, AD 162, питание 12-14 вольт, подал на вход сигнал, по качеству звука не уступает tpa 3116d2,
Скажите сколько ват номинал у этой схемы 1,2?
При питании 12-14 вольт
 
Последнее редактирование:
Я тут запутался советские ваты
70 х
И по новому ГОСТу и сравнение их с рмс буржуинскими
Бортовое питание принимаем за 14 вольт, значит, 4, 5 вольта имеем на выходе в виде эффективного синуса. квадрат примерно 20, делим на 4 Ома - 5 ватт . Минус потери- 4 ватта примерно будет. Если 8 Ом динамик -значит 2 ватта.
 
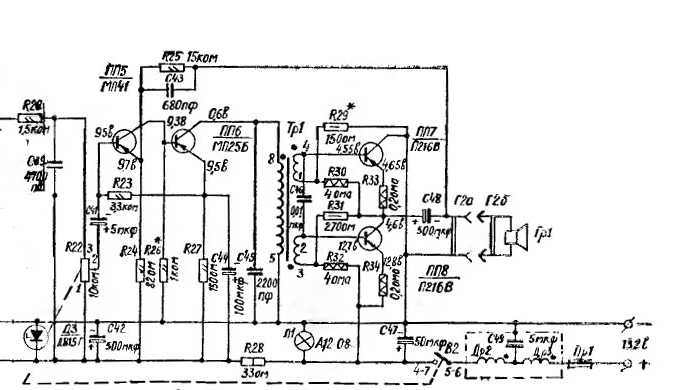
УНЧ матофона "Тоника-210" возможно уже был тут
 

Вложения

  • УНЧ мага Тоника-210.png
    УНЧ мага Тоника-210.png
    186.3 KB · Просмотры: 373
A-1, много зависит от чувствительности динамика, напр. 3гд-32 она 92 дБ, что оч. хорошо, и 6гд-6 она 84 дБ, это песец. 5гд-1 ррр 96 дБ,это отлично...
 
A-1, много зависит от чувствительности динамика, напр. 3гд-32 она 92 дБ, что оч. хорошо, и 6гд-6 она 84 дБ, это песец. 5гд-1 ррр 96 дБ,это отлично...
Мне для гитары
Там стоковые с комбиков динамики без параметров
Есть 4 ом 20 Вт номинал
8" там должно быть не менее 92 дБ точно
 
Понимаю что мы не ищем легких путей.
Радиолюбители народ такой.
Но можно просто за 500 руб купить Вегу-101 и вот вам полностью германиевый усилитель.
Не считая одного кт 315, причем на входе перед регулятором громкости , который также можно заменить или убрать вообще.
 
Понимаю что мы не ищем легких путей.
Радиолюбители народ такой.
Но можно просто за 500 руб купить Вегу-101 и вот вам полностью германиевый усилитель.
Не считая одного кт 315, причем на входе перед регулятором громкости , который также можно заменить или убрать вообще.
Вот она, "Вега-101" и все связанные с ней мучения:
 
И где мучения? Стандартный ремонт старого аппарата.
Недавно ремонтировал. Конденсаторы и чистка регуляторов.
О качестве звука германия отдельный вопрос.
 
Трудно оторваться от увлекательного рассказа Дмитрия Коржевского , чему бы ни был посвящен рассказ. Гений . А сколько теплых комментариев от видеослушателей.
Общее мнение- передача Дмитрия называется Спокойной ночи,Мужики!
ПС. Тестер Приз, про который целая лекция, у меня был, подарил приятель из Луганска.
Тестер очень удобный, компактный, но выявилась одна нехорошая особенность- статика от телевизора рушила показания стрелки, она гуляла сама по себе. Поэтому заменил его на Ц4313
 
Еще один усилитель, в котором фигурирует "призрачный" транзистор ГТ804:
Снимок экрана в 2021-05-01 22-29-49.png
Взято отсюда:
Снимок экрана в 2021-05-02 00-27-13.png
К сожалению, в данной книге нет ссылки на первоисточник, где изначально была опубликована данная схема. Судя по схемотехнике и элементной базе, это было где-то ближе к концу 70-х.
 

Статистика форума

Темы
3,307
Сообщения
263,659
Пользователи
2,548
Новый пользователь
Александр Н.
Назад
Сверху Снизу